授权公布号:CN208264613U
排气旋盖装置
有效
申请
2018-05-17
申请公布
1970-01-01
授权
2018-12-21
预估到期
2028-05-17
| 申请号 | CN201820735685.8 |
| 申请日 | 2018-05-17 |
| 授权公布号 | CN208264613U |
| 授权公告日 | 2018-12-21 |
| 分类号 | B65B3/24 |
| 分类 | 输送;包装;贮存;搬运薄的或细丝状材料; |
| 申请人名称 | 杭华油墨股份有限公司 |
| 申请人地址 | 浙江省杭州市杭州经济技术开发区白杨街道5号大街(南)2号 |
专利法律状态
2018-12-21
授权
状态信息
授权
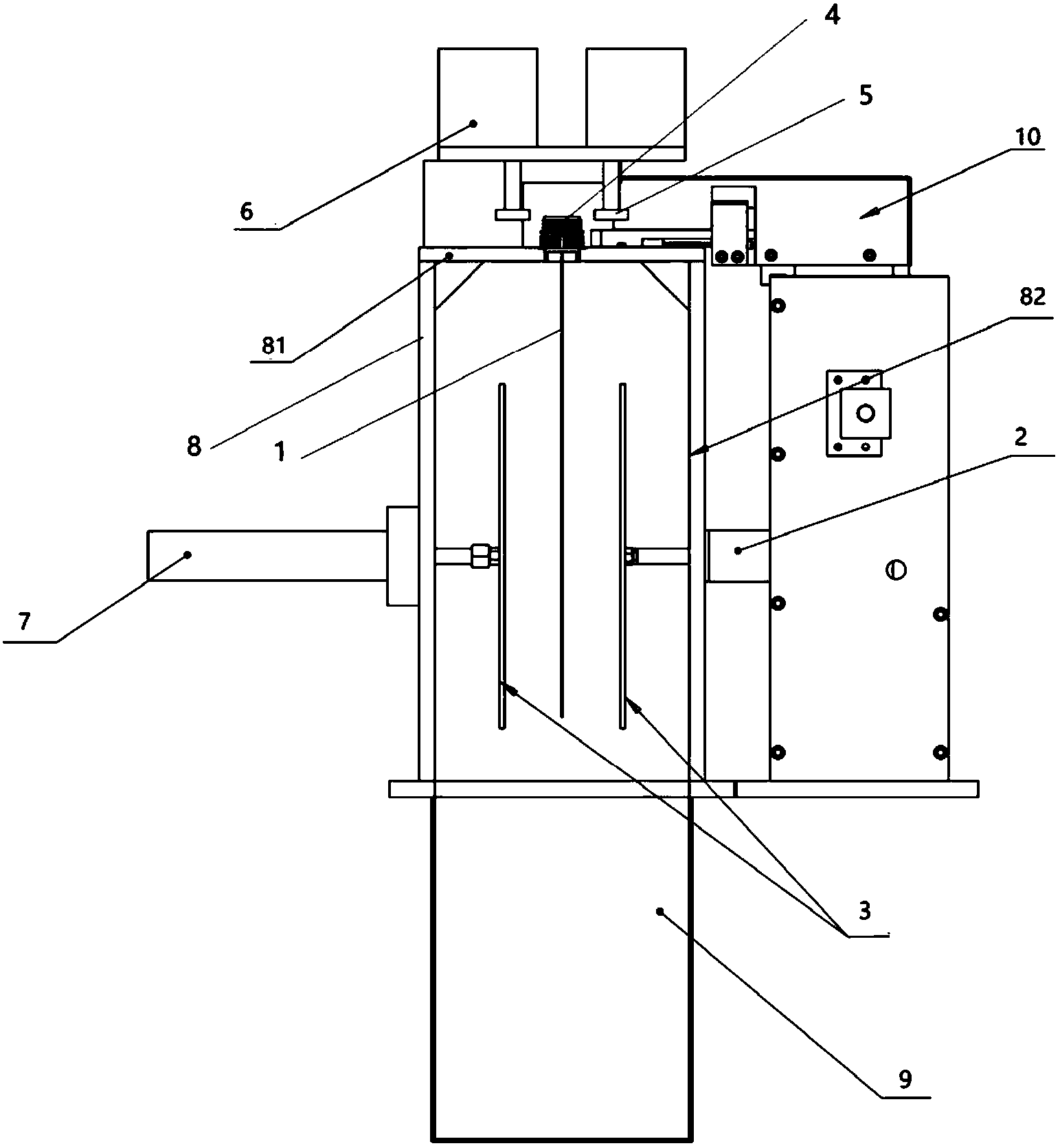
摘要
本实用新型涉及一种排气旋盖装置,包括用于固定包装袋的固定支架,包装袋固定在固定支架上时其两侧设有连接气缸的挤压板,固定支架上方设有锁盖机,锁盖机下方连接两个用于旋转盖子的锁紧胶轮。实用新型有益的效果是:一、最大限度的减少袋内气体的残留,保证袋内物料不受氧气影响;减少包装袋除物料本身体积以外的空间占用,方便储运;包装袋灌装油墨后局部受压时,可通过袋身变形泄压而不破袋,提高储运安全性。


