授权公布号:CN206818266U
一种防暖气水回流水表
有效
申请
2017-04-27
申请公布
1970-01-01
授权
2017-12-29
预估到期
2027-04-27
| 申请号 | CN201720454741.6 |
| 申请日 | 2017-04-27 |
| 授权公布号 | CN206818266U |
| 授权公告日 | 2017-12-29 |
| 分类号 | G01F15/00 |
| 分类 | 测量;测试; |
| 申请人名称 | 高翔水表有限公司 |
| 申请人地址 | 山东省临沂市兰山区白沙埠镇工业园 |
专利法律状态
2023-08-25
专利权的保全及其解除
状态信息
专利权的保全;IPC(主分类):G01F 15/00;专利号:ZL2017204547416;申请日:20170427;授权公告日:20171229;登记生效日:20230808;解除日:
2017-12-29
授权
状态信息
授权
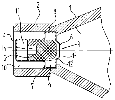
摘要
本实用新型属于水表装置技术领域,具体涉及一种防暖气水回流水表。本实用新型防暖气水回流水表,包括水表壳体、进水口、出水口、计数器容积体、叶轮盒,在水表壳体出水口设置一个在暖气热水中能关闭而在冷水中能打开的感温阀,所述感温阀与出水口内孔液密封配合装配。本实用新型当水表正常流经冷水时,感温阀的感温壳内的低沸点介质如蜡凝结成固态,其体积收缩,橡胶阀在水压作用下打开感温壳流入口,大端空腔与流出口和流入口相通,保证冷水正常流经水表;当暖气热水流经感温阀时,感温壳内的低沸点介质如蜡变成液体,其体积增大,推动橡胶阀向外移动,直到密封住感温壳流入口,防止暖气管道内的热水流过水表,避免暖气热水与自来水发生混流。


