授权公布号:CN217412953U
用于保险箱器件板的固定工装
有效
申请
2022-01-26
申请公布
1970-01-01
授权
2022-09-13
预估到期
2032-01-26
| 申请号 | CN202220224653.8 |
| 申请日 | 2022-01-26 |
| 授权公布号 | CN217412953U |
| 授权公告日 | 2022-09-13 |
| 分类号 | B23K37/04 |
| 分类 | 机床;不包含在其他类目中的金属加工; |
| 申请人名称 | 广东安能保险柜制造有限公司 |
| 申请人地址 | 广东省佛山市顺德区大良街道德翔路8号 |
专利法律状态
2022-09-13
授权
状态信息
授权
摘要
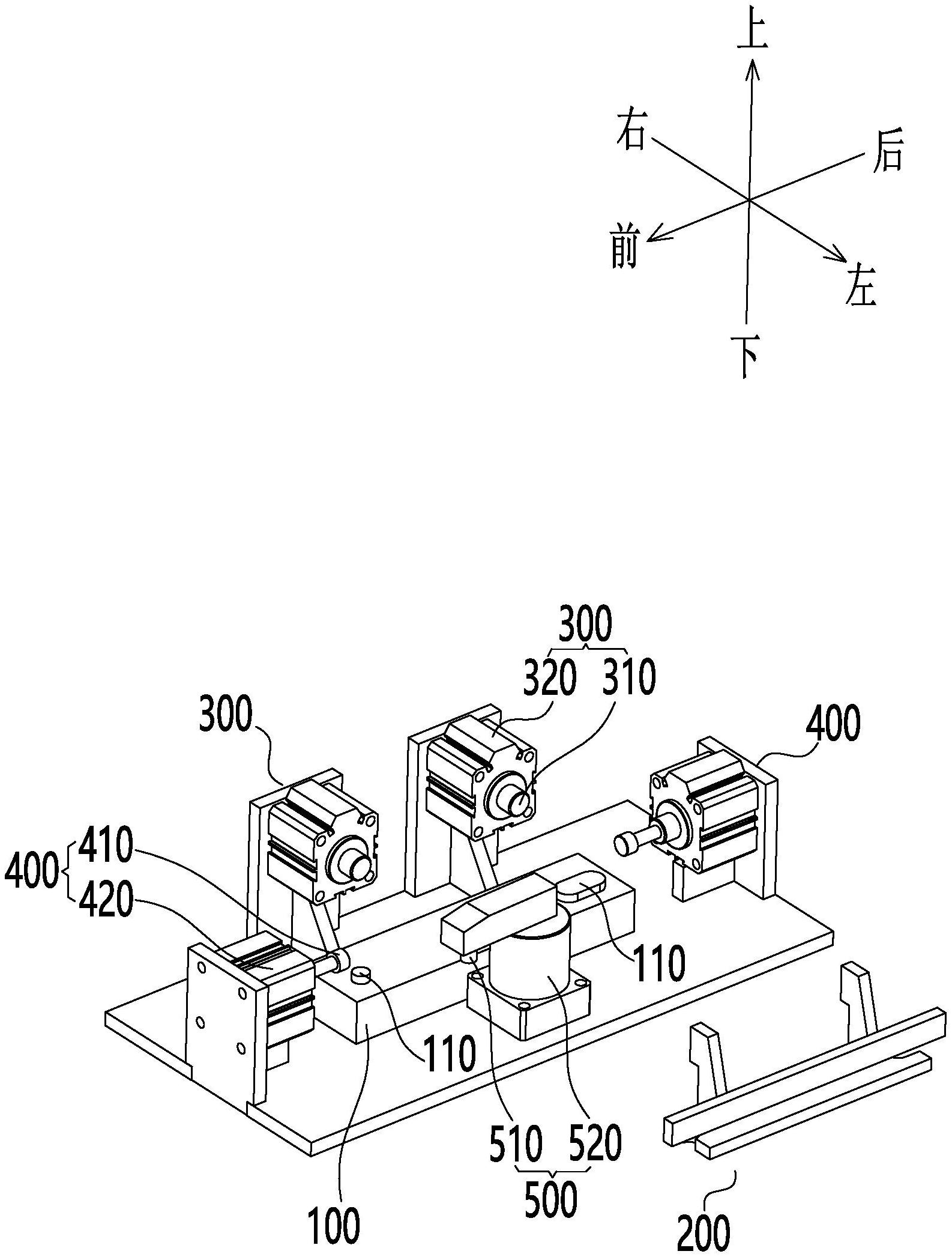
本实用新型公开了一种用于保险箱器件板的固定工装,包括:底座,底座的上平面设置若干向上凸起的限位凸台;辅助组件,可拆卸的置于底座上,辅助组件设有底平面、左右两侧的侧平面、朝后的后平面;第一限位组件,位于在底座后侧,第一限位组件设有可朝向后平面方向移动的第一压头;第二限位组件,两个第二限位组件分别位于在底座左右两侧,第二限位组件设有第二压头;第三限位组件,设有第三压头;底座、辅助组件、第一限位组件、第二限位组件和第三限位组件的共同作用对器件板的底板、背板和两侧板进行定位,使其在空间上稳定的保持在相互垂直位置上,而后对底板和侧板的接触边缘进行人工或自动焊接操作,有效保证焊接后产品的质量。


