授权公布号:CN220551008U
床头保险柜
有效
申请
2023-08-21
申请公布
1970-01-01
授权
2024-03-01
预估到期
2033-08-21
| 申请号 | CN202322255075.1 |
| 申请日 | 2023-08-21 |
| 授权公布号 | CN220551008U |
| 授权公告日 | 2024-03-01 |
| 分类号 | E05G1/02;A47B79/00;F21V33/00;F21V23/04 |
| 分类 | 锁;钥匙;门窗零件;保险箱; |
| 申请人名称 | 广东安能保险柜制造有限公司 |
| 申请人地址 | 广东省佛山市顺德区大良街道德翔路8号 |
专利法律状态
2024-03-01
授权
状态信息
授权
摘要
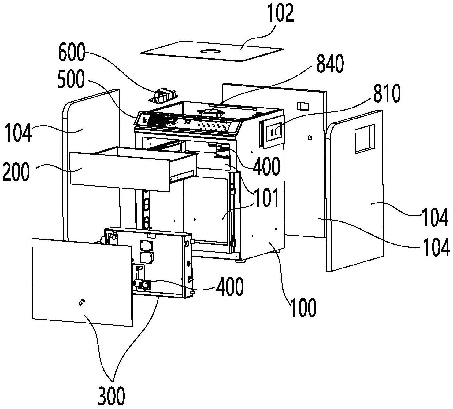
本实用新型公开了一种床头保险柜,包括:柜体为防盗金属板材,柜体内部分隔出至少两个置物腔,柜体的顶部为置物平台;抽拉柜为防盗金属材质,抽拉柜安装在其中的至少一个置物腔中;柜门为防盗金属材质,柜门铰接在其中的至少一个置物腔的腔口处;抽拉柜与柜体之间、柜门和柜体之间均分别安装有锁闭机构;控制机构包括操作平台和电控模块,电控模块与操作平台、各锁闭机构电连接,操作平台位于置物平台的前侧,并且操作平台朝前下方倾斜设置;感应夜灯组件安装在柜体的底部,感应夜灯组包括感应器和灯条,感应夜灯组件与电控模块电连接;将床头柜和保险柜的功能进行结合,方便操作和使用,配合感应夜灯组件,便于用户夜间起床。


