授权公布号:CN217602330U
一种两段式防盗锁芯结构
有效
申请
2022-05-10
申请公布
1970-01-01
授权
2022-10-18
预估到期
2032-05-10
| 申请号 | CN202221108172.7 |
| 申请日 | 2022-05-10 |
| 授权公布号 | CN217602330U |
| 授权公告日 | 2022-10-18 |
| 分类号 | E05B15/00;E05B17/18 |
| 分类 | 锁;钥匙;门窗零件;保险箱; |
| 申请人名称 | 广东力维智能锁业有限公司 |
| 申请人地址 | 广东省佛山市南海区平洲平西工业园I座 |
专利法律状态
2022-10-18
授权
状态信息
授权
摘要
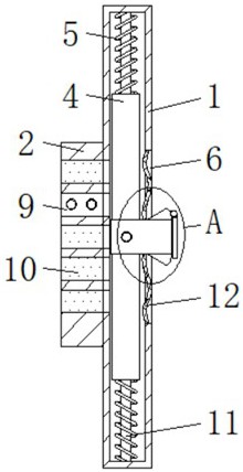
本实用新型公开了一种两段式防盗锁芯结构,包括固定套一,所述固定套一的左侧固定连接有连通有固定套二,所述固定套一的内部设置有一段锁芯,所述一段锁芯的背面固定连接有垫板,所述垫板的顶部与底部均固定连接有弹簧,所述弹簧远离垫板的一端固定连接在固定套一的内部,所述固定套一的右侧开设有开口,所述一段锁芯的右端穿过开口并延伸至固定套一的右侧。本实用新型由一段锁芯通过垫板和弹簧进行一段防盗,再由基准板和刻度通过二段锁芯和假锁芯进行二段防盗,从而具备了防盗性能较好的优点,解决了现有的锁芯在使用过程中,结构较为简单,防盗性能较差,只能够进行单段防盗的问题,便于使用者的使用。


