授权公布号:CN216246594U
一种可拆卸式Nb-IoT无线远传水表
有效
申请
2021-10-27
申请公布
1970-01-01
授权
2022-04-08
预估到期
2031-10-27
| 申请号 | CN202122607000.6 |
| 申请日 | 2021-10-27 |
| 授权公布号 | CN216246594U |
| 授权公告日 | 2022-04-08 |
| 分类号 | G01F15/061;G01F15/18;G01F15/00;G08C17/02 |
| 分类 | 测量;测试; |
| 申请人名称 | 高翔水表有限公司 |
| 申请人地址 | 山东省临沂市兰山区白沙埠镇工业园 |
专利法律状态
2023-08-25
专利权的保全及其解除
状态信息
专利权的保全;IPC(主分类):G01F 15/061;专利号:ZL2021226070006;申请日:20211027;授权公告日:20220408;登记生效日:20230808;解除日:
2022-04-08
授权
状态信息
授权
摘要
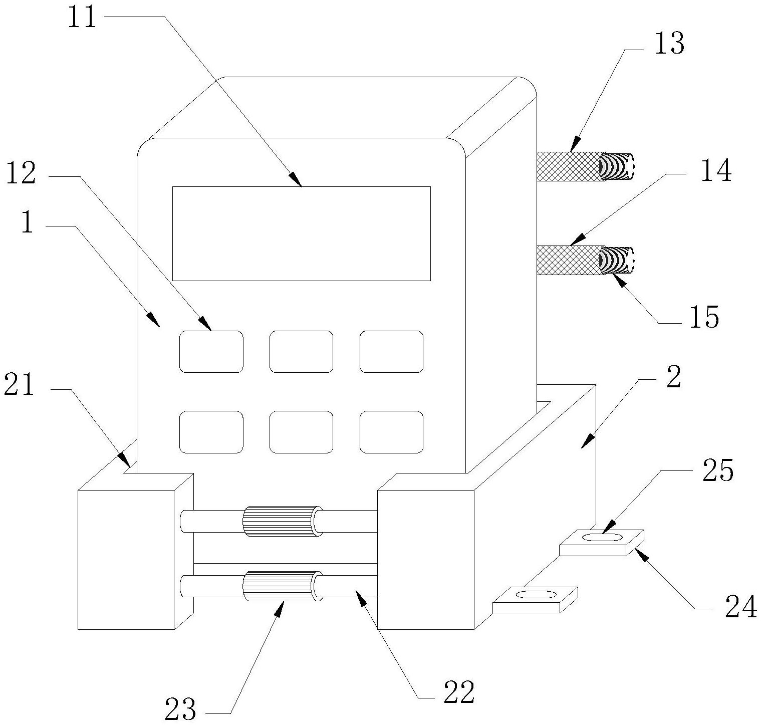
本实用新型涉及无线水表技术领域,具体公开了一种可拆卸式Nb‑IoT无线远传水表,包括水表本体以及安装底座,所述水表本体整体呈方形结构,所述安装底座成对设置,安装底座整体呈C字型机构,在安装底座内侧设置有安装槽,所述水表本体底部设置在安装槽中;所述水表本体表面设置有显示屏以及操作按钮,在水表本体的背侧设置有进水管以及出水管;所述安装底座的C字型两端设置有连接架,两组安装底座的连接架相互连接;其中一组安装底座的外侧设置有固定架,所述固定架上设置有固定孔;本实用新型所提供的水表,通过安装底座对其进行固定,固定方式稳定,且拆装方便,便于工作人员进行检修;装置整体结构简单,使用方便,易于推广。


