授权公布号:CN217064184U
一种智能数据采集控制器外壳
有效
申请
2021-12-22
申请公布
1970-01-01
授权
2022-07-26
预估到期
2031-12-22
| 申请号 | CN202123254027.8 |
| 申请日 | 2021-12-22 |
| 授权公布号 | CN217064184U |
| 授权公告日 | 2022-07-26 |
| 分类号 | H05K5/02;H05K7/14 |
| 分类 | 其他类目不包含的电技术; |
| 申请人名称 | 高翔水表有限公司 |
| 申请人地址 | 山东省临沂市兰山区白沙埠镇工业园 |
专利法律状态
2023-08-25
专利权的保全及其解除
状态信息
专利权的保全;IPC(主分类):H05K5/02;专利号:ZL2021232540278;申请日:20211222;授权公告日:20220726;登记生效日:20230808;解除日:
2022-07-26
授权
状态信息
授权
摘要
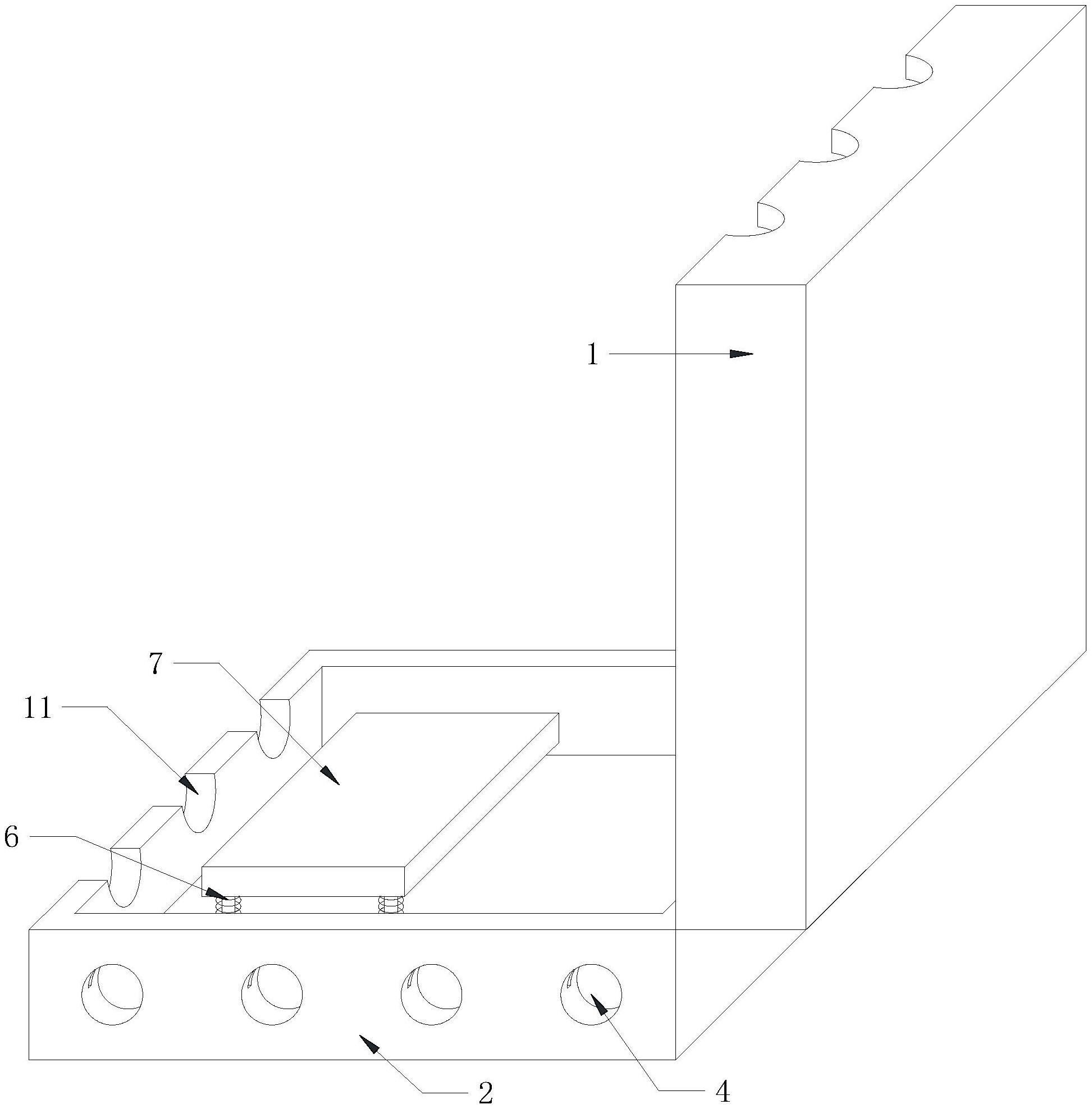
本实用新型属于数据采集控制器技术领域,具体公开了一种智能数据采集控制器外壳,包括上壳体和下壳体,所述上壳体与下壳体之间转动连接,所述下壳体底端设有固定支脚,所述下壳体侧面设有透气孔,所述下壳体内部底端设有两个滑轨,所述滑轨上设有滑块,所述滑块顶端通过阻尼装置设有支撑座,所述支撑座上设有数据采集控制器,所述滑块侧面分别设有第一连接杆和第二连接杆,所述第一连接杆末端设置在上壳体内壁,设置的移动式防潮结构可以在阴雨天气进行手动开启,对空气中潮气进行隔离的同时提高装置高度,避免地面回潮影响装置使用,设置的支撑结构可以对设备进行有效支撑固定,同时在外壳开启时将装置进行托举,便于对装置进行维护及调节。


