授权公布号:CN218815747U
面板总成、用于面板总成的夹件和具有面板总成的开关门
有效
申请
2022-08-22
申请公布
1970-01-01
授权
2023-04-07
预估到期
2032-08-22
| 申请号 | CN202222205439.0 |
| 申请日 | 2022-08-22 |
| 授权公布号 | CN218815747U |
| 授权公告日 | 2023-04-07 |
| 分类号 | E05B9/00;E05B17/20;E05B47/00 |
| 分类 | 锁;钥匙;门窗零件;保险箱; |
| 申请人名称 | 广东必达保安系统有限公司 |
| 申请人地址 | 广东省佛山市顺德区容桂小黄圃居委会顺德高新技术产业开发区科技产业园科苑三路17号 |
专利法律状态
2023-04-07
授权
状态信息
授权
摘要
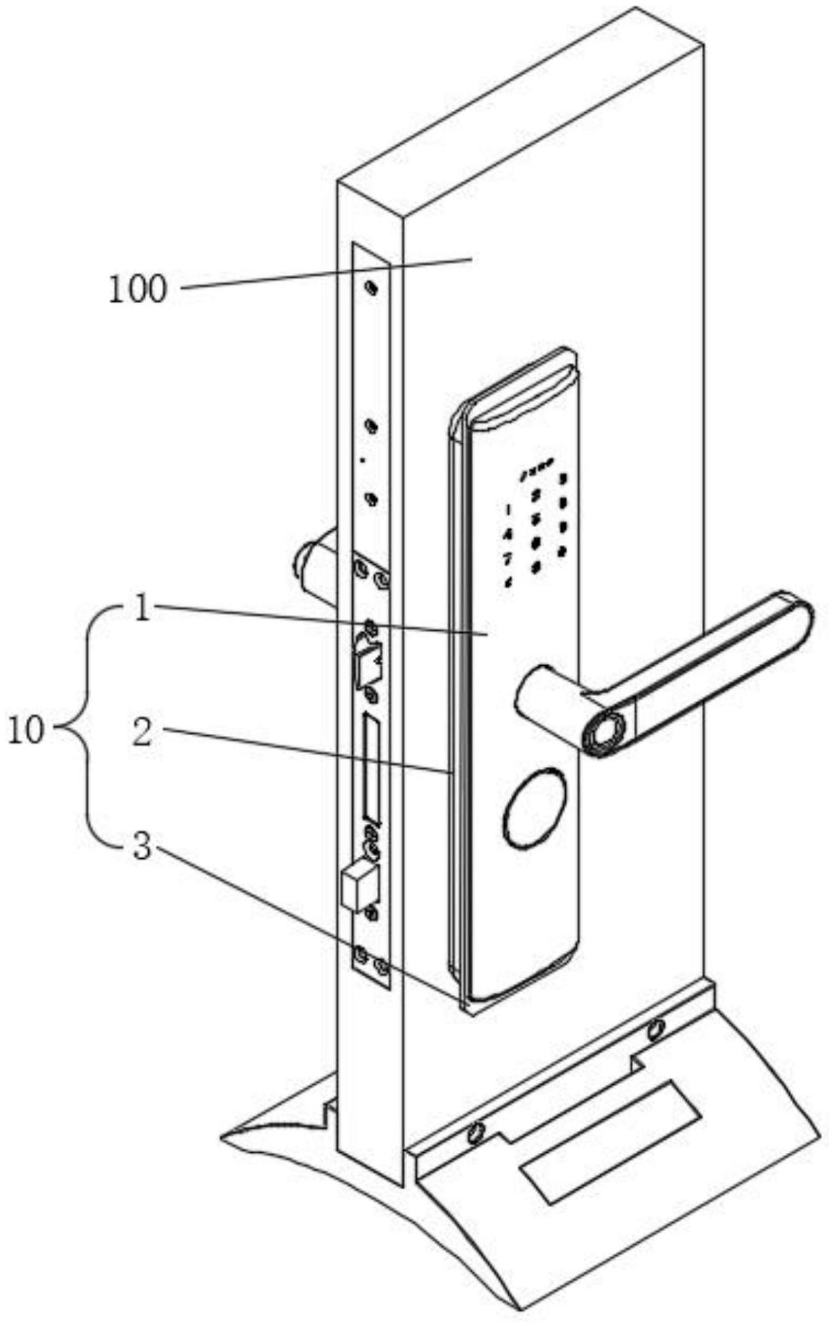
本实用新型涉及锁具技术领域,公开面板总成、用于面板总成的夹件和具有面板总成的开关门,面板总成包括主体,包括相互连接的前面板和底壳,底壳与前面板围蔽形成容纳腔;连接件,设于前面板后方,连接件用于连接解锁装置,且连接件至少部分容置于容纳腔中;固定部,设于前面板后方居中位置,连接件用于连接门体,且固定部至少部分设置于容纳腔中;夹件,设置于前面板与底壳之间,夹件与前面板和底壳中的至少一者连接,且夹件凸出前面板或底壳的外周部并形成有防撬部。本实用新型提供的面板总成的固定部远离面板总成的外边缘,并设有防撬部,能够提高对固定部的保护效果,防止面板总成被外力撬开。


