授权公布号:CN213838073U
把手开闭锁传动机构及其锁体装置
有效
申请
2020-07-23
申请公布
1970-01-01
授权
2021-07-30
预估到期
2030-07-23
| 申请号 | CN202021482039.9 |
| 申请日 | 2020-07-23 |
| 授权公布号 | CN213838073U |
| 授权公告日 | 2021-07-30 |
| 分类号 | E05B15/00;E05B63/04 |
| 分类 | 锁;钥匙;门窗零件;保险箱; |
| 申请人名称 | 深圳市爱迪尔电子有限公司 |
| 申请人地址 | 广东省深圳市福田区深南中路佳和华强大厦B座1910室 |
专利法律状态
2021-07-30
授权
状态信息
授权
摘要
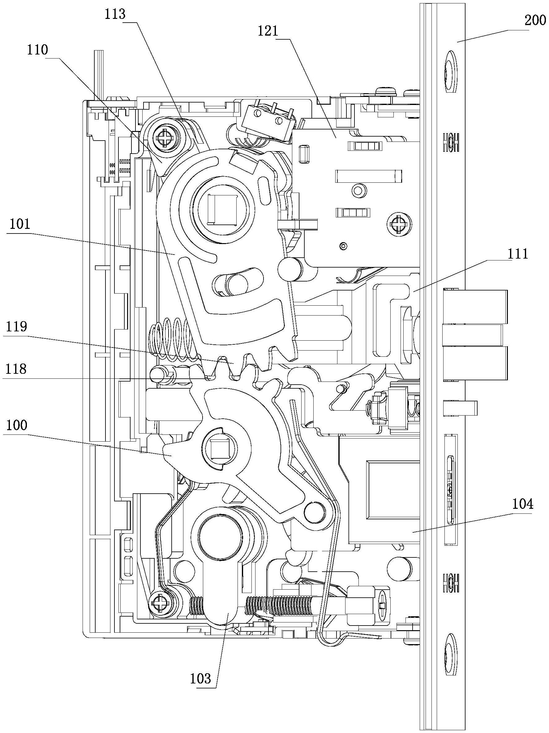
本实用新型公开了一种把手开闭锁传动机构及其锁体装置,包括第一把手、第二把手,还包括第一转动件,与第一转动件传动连接的第二转动件,所述第一把手、第二把手分别位于第二转动件的两端;所述第一转动件的下端安装有第一连接件,所述第一连接件与锁头组件传动连接,所述第一连接件铰接于锁体框架,所述第一连接件与安装于锁体框架并且在锁体框架前后移动的方舌传动连接;所述第二转动件的下端依次安装有第二连接件、第三连接件,所述第二连接件、第三连接件分别设有用于安装第一把手的第一安装孔、第二安装孔,所述第一安装孔与第二安装孔之间设有用于分隔第一把手、第二把手的隔离结构;能够很好地实现开锁、反锁、开反锁等效果。


