授权公布号:CN210370198U
一种门锁把手的双向复位机构
有效
申请
2019-03-21
申请公布
1970-01-01
授权
2020-04-21
预估到期
2029-03-21
| 申请号 | CN201920362011.2 |
| 申请日 | 2019-03-21 |
| 授权公布号 | CN210370198U |
| 授权公告日 | 2020-04-21 |
| 分类号 | E05B3/00;E05B15/04 |
| 分类 | 锁;钥匙;门窗零件;保险箱; |
| 申请人名称 | 深圳市爱迪尔电子有限公司 |
| 申请人地址 | 广东省深圳市福田区深南中路佳和华强大厦B座1910室 |
专利法律状态
2020-04-21
授权
状态信息
授权
摘要
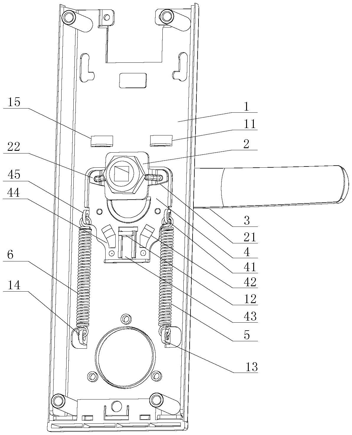
本实用新型涉及门锁技术领域,公开了一种把手的双向复位机构,其中包括:衬板和设置于衬板上的把手;推动板,沿第一方向放置于衬板的内侧;复位板,与把手固定,随把手一起转动,复位板的两侧设置有左凸出拨位和右凸出拨位,把手转动时,左凸出拨位或右凸出拨位能够带动推动板沿第一方向滑动;左弹性件和右弹性件分别连接衬板和推动板。上抬或下压把手,复位板转动,左凸出拨位或右凸出拨位带动推动板沿第一方向转动,松开把手后,把手在左弹性件和右弹性件的作用下回到原位。该机构能够实现把手的双向复位:把手上抬反锁‑复位,把手下压开锁‑复位。而且该机构是左弹性件和右弹性件同时作用使把手复位,可以保持把手平衡,具有好的稳定性。


