授权公布号:CN208502478U
模块化的酒店箱用电机传动门栓结构
有效
申请
2018-07-04
申请公布
1970-01-01
授权
2019-02-15
预估到期
2028-07-04
| 申请号 | CN201821055321.1 |
| 申请日 | 2018-07-04 |
| 授权公布号 | CN208502478U |
| 授权公告日 | 2019-02-15 |
| 分类号 | E05B65/00;E05B47/00 |
| 分类 | 锁;钥匙;门窗零件;保险箱; |
| 申请人名称 | 盛威保险柜(宁波)有限公司 |
| 申请人地址 | 浙江省宁波市北仑区白峰海发路72号2幢1号二层 |
专利法律状态
2019-02-15
授权
状态信息
授权
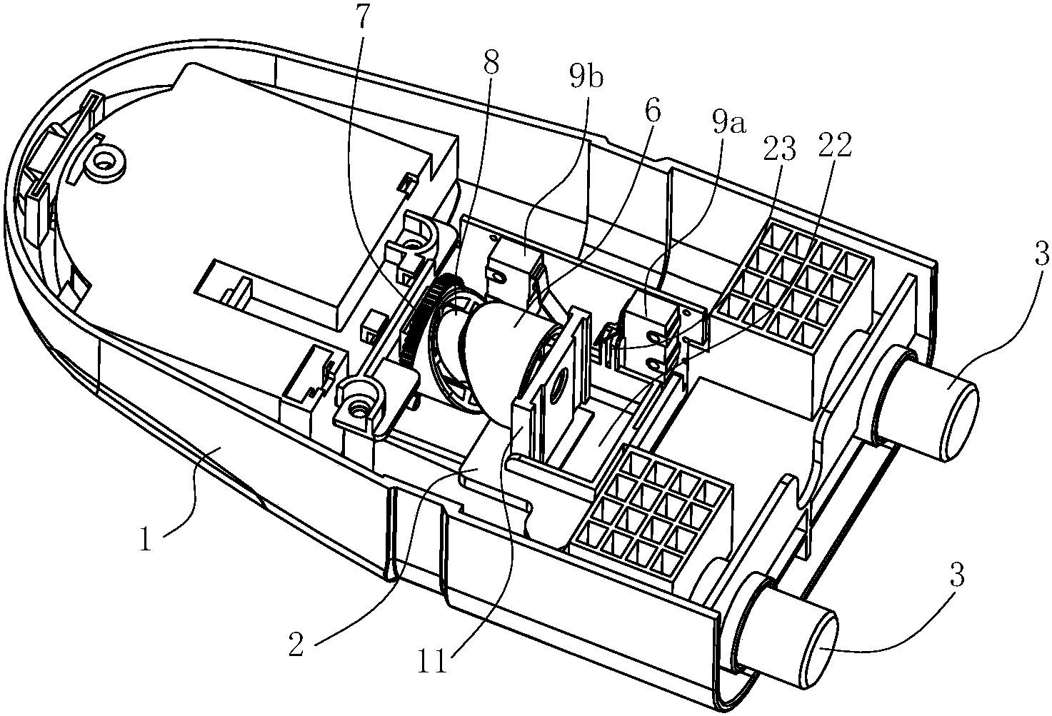
摘要
本实用新型涉及一种模块化的酒店箱用电机传动门栓结构,其特征在于:包括用以固定在箱门背面的外壳,外壳内约束有能前后滑移的滑板,滑板的外端固定有栓头,滑板的前后滑移能带动栓头伸出或缩进所述外壳的一侧,外壳内设有电机,电机的输出轴与滑板之间设有能带动滑板前后滑移的传动机构,传动机构则设于外壳内。本结构可事先将滑板、栓头、电机及传动机构全部整合的外壳内,形成模块化结构,使用时,只需将组装后的外壳固定在箱门背面即可,使用更方便和人性化。


