授权公布号:CN215094079U
一种印刷装订用打孔设备
有效
申请
2021-04-17
申请公布
1970-01-01
授权
2021-12-10
预估到期
2031-04-17
| 申请号 | CN202120790893.X |
| 申请日 | 2021-04-17 |
| 授权公布号 | CN215094079U |
| 授权公告日 | 2021-12-10 |
| 分类号 | B26F1/16;B26D7/18;B26D7/02 |
| 分类 | 手动切割工具;切割;切断; |
| 申请人名称 | 北京盛通印刷股份有限公司 |
| 申请人地址 | 北京市大兴区北京经济技术开发区经海三路18号 |
专利法律状态
2021-12-10
授权
状态信息
授权
摘要
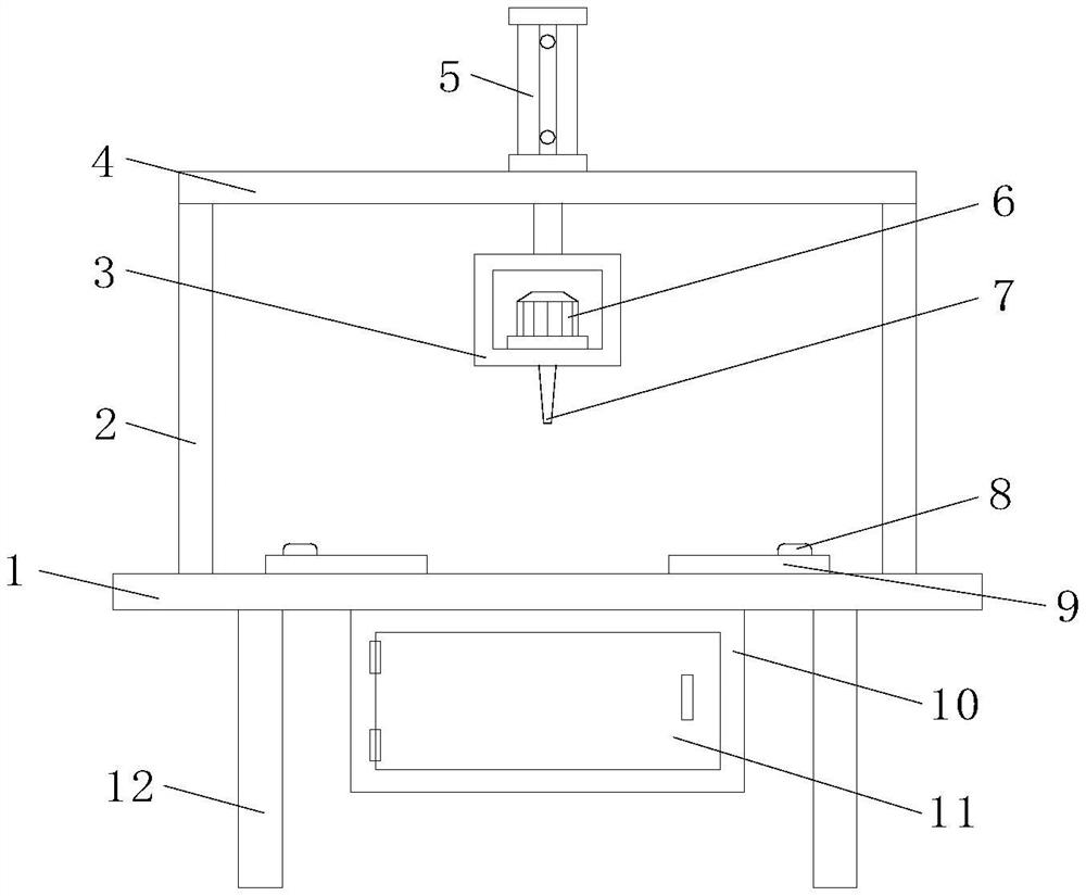
本实用新型公开了一种印刷装订用打孔设备,包括底座,所述底座顶部的左右两侧均固定安装有支撑板,所述支撑板的顶部固定安装有顶板,所述底座底部的四周均固定安装有支撑腿,所述底座内表面的中端开设有多个等距分布且大小相同的通孔,所述底座底部的中端固定安装有箱体,所述箱体内腔的左右两侧均固定安装有卡座,所述卡座的内腔卡接有滤网,所述箱体内腔底部的中端固定安装有风机。本实用新型通过电机的输出端带动打孔头转动,通过气缸延伸带动打孔头向下移动,进行打孔,通过风机的输入端经过喇叭管产生吸力,底座顶部的纸屑通过通孔被吸至滤网的顶部,解决了现有的打孔设备不具备清理纸屑的功能,不便于人们使用的问题。


