授权公布号:CN210918660U
一种光电控制的保险箱机构
有效
申请
2019-09-06
申请公布
1970-01-01
授权
2020-07-03
预估到期
2029-09-06
| 申请号 | CN201921485648.7 |
| 申请日 | 2019-09-06 |
| 授权公布号 | CN210918660U |
| 授权公告日 | 2020-07-03 |
| 分类号 | E05G1/04;E05B65/00;E05B47/00;E05B63/14 |
| 分类 | 锁;钥匙;门窗零件;保险箱; |
| 申请人名称 | 盛威保险柜(宁波)有限公司 |
| 申请人地址 | 浙江省宁波市北仑区白峰海发路72号2幢1号二层 |
专利法律状态
2020-07-03
授权
状态信息
授权
摘要
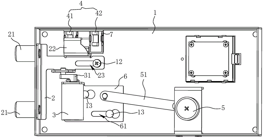
本实用新型公开了一种光电控制的保险箱机构,包括门板、滑板、驱动机构;所述门板上设置有门闩孔;所述滑板设置在门板的背面,所述滑板上设置有闩头;所述滑板能够相对门板左右滑移;所述驱动机构设置在门板的背面,所述驱动机构与滑板相连;该驱动机构能够驱动滑板相对门板左右滑移,同时滑板带动闩头插入或者脱离门闩孔从而实现关门或开门;其特征在于:还包括光电开关,所述光电开关设置在门板的背面;所述滑板的左右滑移能够遮挡光电开关的信号,从而实现光电开关的信号开关,所述光电开关发出的信号能够控制驱动机构,实现开门与关门。该保险箱机构通过光电开关控制电机运行,且设计简洁、操作简单。


