授权公布号:CN213786918U
一种可分离式隔油器及带有隔油器的锅
有效
申请
2020-11-04
申请公布
1970-01-01
授权
2021-07-27
预估到期
2030-11-04
| 申请号 | CN202022517376.3 |
| 申请日 | 2020-11-04 |
| 授权公布号 | CN213786918U |
| 授权公告日 | 2021-07-27 |
| 分类号 | A47J36/20;A47J27/00 |
| 分类 | 家具;家庭用的物品或设备;咖啡磨;香料磨;一般吸尘器; |
| 申请人名称 | 广东欧亚家居有限公司 |
| 申请人地址 | 广东省云浮市新兴县新城镇陇塘工业开发区(即新城镇多宝路2号) |
专利法律状态
2021-07-27
授权
状态信息
授权
2020-11-04
公布
状态信息
公布
摘要
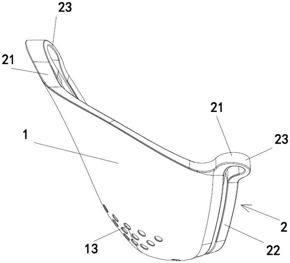
本实用新型公开了一种可分离式隔油器及带有隔油器的锅。其中,可分离式隔油器包括隔油板,所述隔油板的内侧面为向内凹陷的凹面,所述隔油板的顶部设置有钩挂组件,所述钩挂组件用于钩挂在锅体侧壁上;当钩挂组件钩挂在锅体侧壁上时,所述凹面与锅体侧壁的内侧面围合形成隔油槽,所述隔油板顶部具有与所述隔油槽连通的开口,所述隔油板的底部设置有若干与隔油槽连通的过流孔。本实用新型的隔油器可便捷地钩挂于锅体上或者从锅体上取下,方便用户使用。


