授权公布号:CN116983886B
一种白酒制备装置及工艺
有效
申请
2023-09-27
申请公布
2023-11-03
授权
2023-12-15
预估到期
2043-09-27
| 申请号 | CN202311263288.7 |
| 申请日 | 2023-09-27 |
| 申请公布号 | CN116983886A |
| 申请公布日 | 2023-11-03 |
| 授权公布号 | CN116983886B |
| 授权公告日 | 2023-12-15 |
| 分类号 | B01F33/83;B01F31/40;B01F35/71;C12G3/02;B01F101/09N;B01F101/16N;B01F101/44N |
| 分类 | 一般的物理或化学的方法或装置; |
| 申请人名称 | 广东顺德酒厂有限公司 |
| 申请人地址 | 广东省佛山市顺德区大良街道办事处五沙社区居民委员会顺昌路22号 |
专利法律状态
2023-12-15
授权
状态信息
授权
2023-11-21
实质审查的生效
状态信息
实质审查的生效;IPC(主分类):B01F33/83;申请日:20230927
2023-11-03
公布
状态信息
公布
摘要
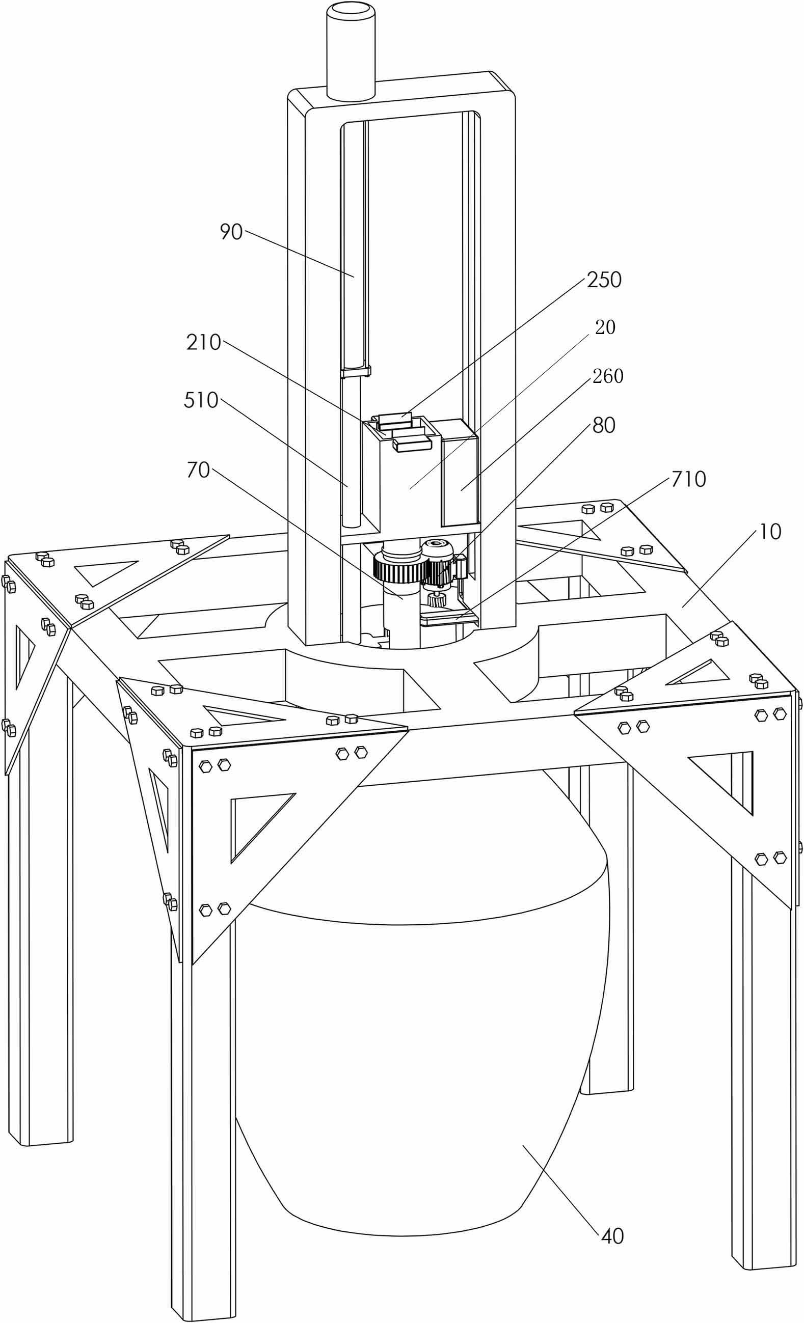
本发明涉及搅拌设备技术领域,具体公开了一种白酒制备装置及工艺,加料件与支架滑动连接,输料管与加料槽相连通,加料槽内设有切割件,切割件与加料槽活动连接;搅拌轴设于发酵罐内,加料件与传动轴固定连接,搅拌轴外套设有外套筒,搅拌轴与外套筒之间设有第一弹性件,搅拌件的一端依次与搅拌轴和外套筒铰接,搅拌件的另一端抵靠发酵罐的内壁,搅拌件开设有出料口,搅拌轴内套设有第一轴,第一轴与多个搅拌件依次啮合,第一轴与切割件活动连接;第一驱动件用于驱动外套筒转动,第二驱动件用于驱动传动轴移动。该白酒制备装置及工艺便于控制酒曲用量,避免出现酒曲粉碎过多或过少的问题,确保发酵物料的均匀混合。


