授权公布号:CN214777835U
一种防伪瓶盖
有效
申请
2021-04-01
申请公布
1970-01-01
授权
2021-11-19
预估到期
2031-04-01
| 申请号 | CN202120669579.6 |
| 申请日 | 2021-04-01 |
| 授权公布号 | CN214777835U |
| 授权公告日 | 2021-11-19 |
| 分类号 | B65D51/18;B65D49/12 |
| 分类 | 输送;包装;贮存;搬运薄的或细丝状材料; |
| 申请人名称 | 安徽迎驾贡酒股份有限公司 |
| 申请人地址 | 安徽省六安市霍山佛子岭镇 |
专利法律状态
2021-11-19
授权
状态信息
授权
摘要
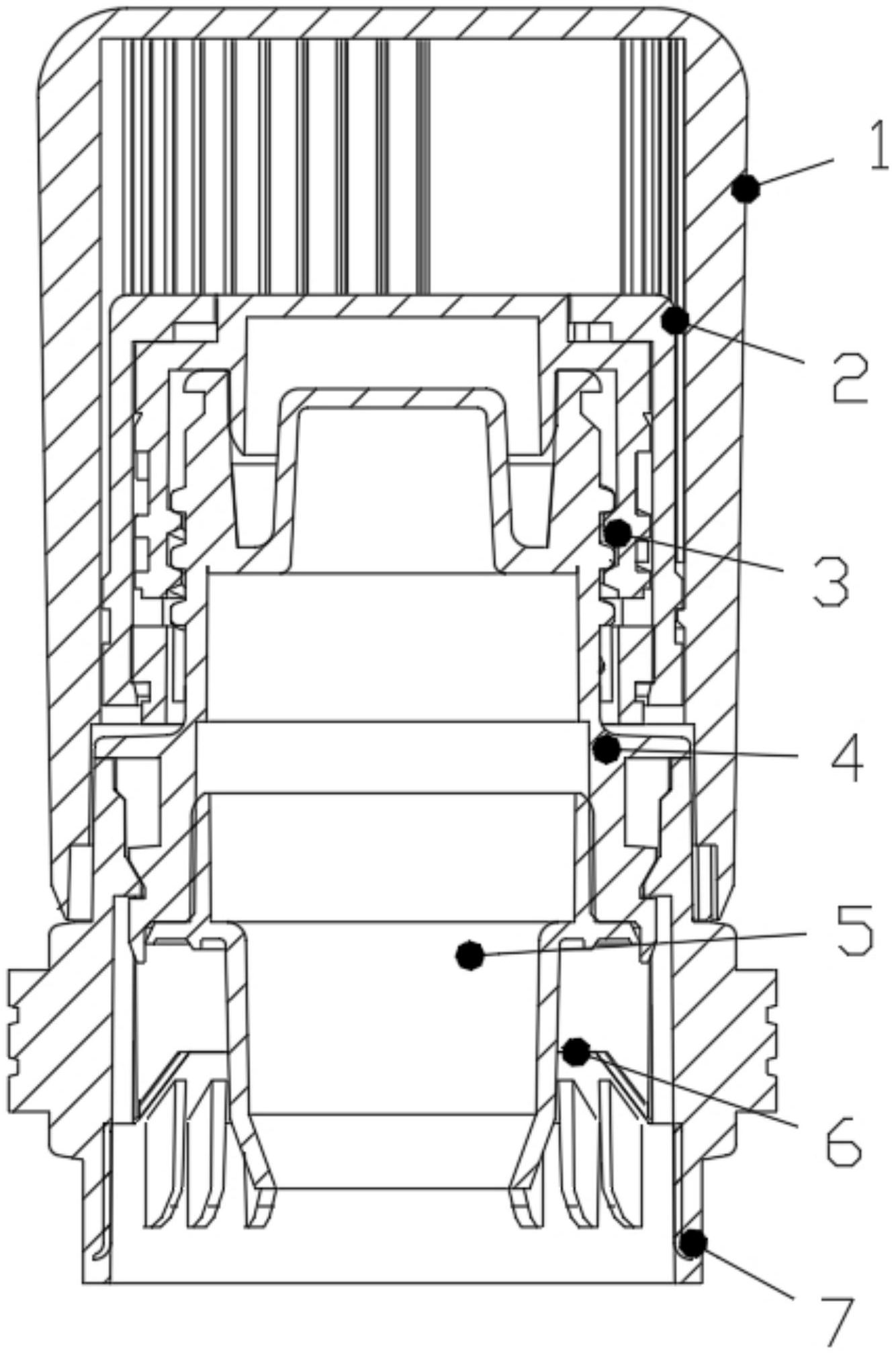
本实用新型公开了一种防伪瓶盖,包括有相互配合的上盖、下盖,所述上盖内安装有顶破内上盖,所述顶破内上盖的内部嵌入有封水内盖,封水内盖的底端外表面两侧对称设有弹性侧耳,所述下盖的上端处卡合有瓶嘴,所述瓶嘴的底部嵌装有内塞,所述下盖内部装设有支撑铁环,所述内塞的底端与支撑铁环的内环面相配合;本实用新型操作十分方便,能够有效防伪,而且下盖设有支撑铁环,只能通过破坏瓶体才能将瓶盖脱离,能够有效制止通过回收瓶盖制伪,能够充分防伪。


