授权公布号:CN219077709U
一种标签压实装置
有效
申请
2023-02-02
申请公布
1970-01-01
授权
2023-05-26
预估到期
2033-02-02
| 申请号 | CN202320101361.X |
| 申请日 | 2023-02-02 |
| 授权公布号 | CN219077709U |
| 授权公告日 | 2023-05-26 |
| 分类号 | B65C9/40;B65C9/36 |
| 分类 | 输送;包装;贮存;搬运薄的或细丝状材料; |
| 申请人名称 | 安徽迎驾贡酒股份有限公司 |
| 申请人地址 | 安徽省六安市霍山佛子岭镇 |
专利法律状态
2023-05-26
授权
状态信息
授权
摘要
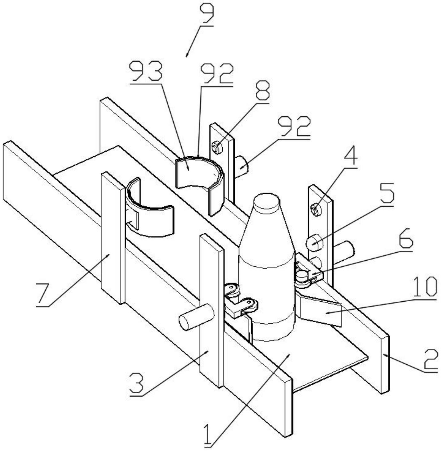
本实用新型公开了一种标签压实装置,包括输送带,输送带的两侧设有挡架,其特征在于:挡架上固定连接有支架一,支架一上设有第一探测元件和感光元件,转动组件,转动组件安装在支架一上用于带动瓶体转动,挡架上固定连接有支架二,支架二上设有第二探测元件,压实组件,压实组件安装在支架二上;本实用新型利用第一探测元件检测到酒瓶后,转动组件带动酒瓶旋转,并感光元件定位标签位置,使得标签对着感光元件,方便压实组件把标签压实到酒瓶上,感光元件还对标签与酒瓶的贴合度进行监测,从而能够对标签精准按压压实,采用机械自动化检测、压实,代替人工,降低了人工强度,提高了压实效率,避免检测遗漏,提高了压实的精确率。


