授权公布号:CN217243957U
一种带有锅耳的手柄及锅
有效
申请
2022-04-11
申请公布
1970-01-01
授权
2022-08-23
预估到期
2032-04-11
| 申请号 | CN202220827769.0 |
| 申请日 | 2022-04-11 |
| 授权公布号 | CN217243957U |
| 授权公告日 | 2022-08-23 |
| 分类号 | A47J45/06 |
| 分类 | 家具;家庭用的物品或设备;咖啡磨;香料磨;一般吸尘器; |
| 申请人名称 | 广东欧亚家居有限公司 |
| 申请人地址 | 广东省云浮市新兴县新城镇顺德大道18号 |
专利法律状态
2022-08-23
授权
状态信息
授权
摘要
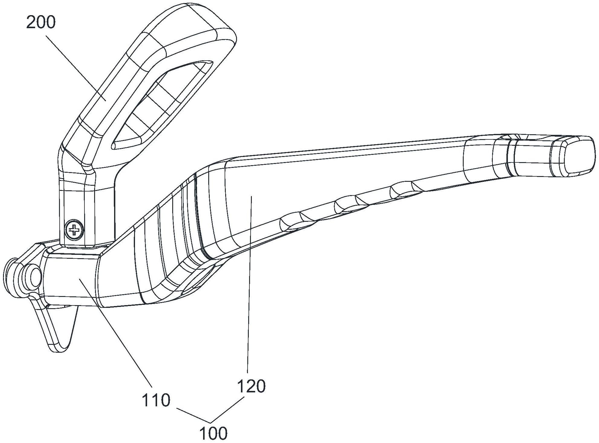
本实用新型公开了一种带有锅耳的手柄及锅。其中,带有锅耳的手柄包括手柄本体和锅耳,所述手柄本体包括固定部以及与固定部相连的握持部,所述固定部用于固定在锅体上,所述握持部用于供用户握持,所述锅耳固定在固定部的顶面。本实用新型使手柄本体和锅耳位于锅的同一侧,方便用户搬运锅具。


