授权公布号:CN218133545U
一种啤酒加工糖化车间的绝热保温系统
有效
申请
2022-08-09
申请公布
1970-01-01
授权
2022-12-27
预估到期
2032-08-09
| 申请号 | CN202222078519.4 |
| 申请日 | 2022-08-09 |
| 授权公布号 | CN218133545U |
| 授权公告日 | 2022-12-27 |
| 分类号 | B08B1/04;B08B13/00 |
| 分类 | 清洁; |
| 申请人名称 | 嘉士伯啤酒(广东)有限公司 |
| 申请人地址 | 广东省惠州市鹅岭南路二十八号 |
专利法律状态
2022-12-27
授权
状态信息
授权
摘要
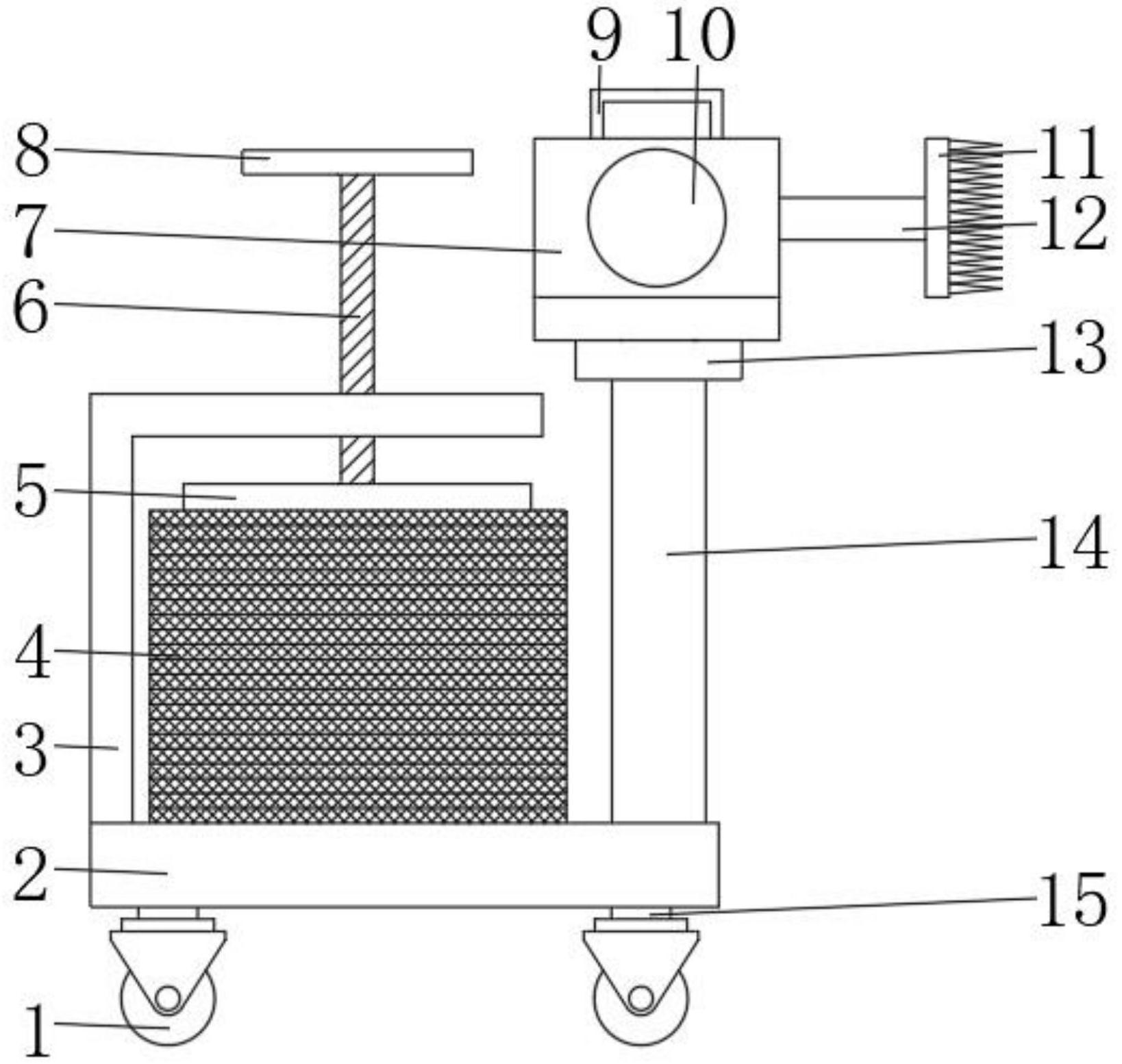
本实用新型涉及绝热保温系统技术领域,尤其涉及一种啤酒加工糖化车间的绝热保温系统,其技术方案包括:底座、第一螺杆、固定架和第二螺杆,所述底座顶部一侧安装有保持架,所述底座顶部另一侧安装有支柱,所述保持架顶部开设有第一螺孔,所述第一螺杆与第一螺孔啮合连接,所述第一螺杆底部安装有压板,所述固定架前后两端分别开设有第二螺孔,两个所述第二螺杆与第二螺孔啮合连接,两个所述第二螺杆相对的一端分别安装有夹板,两个所述夹板相对的一侧夹持有电机,所述电机设有连轴杆,所述连轴杆背离电机的一端安装有刷板。本实用新型具有便于将糖化车间内部设备的表面清理干净,然后在设备上安装保温板,提高保温性能的优点。


