授权公布号:CN218962401U
一种食品混浆装置
有效
申请
2022-11-23
申请公布
1970-01-01
授权
2023-05-05
预估到期
2032-11-23
| 申请号 | CN202223115342.7 |
| 申请日 | 2022-11-23 |
| 授权公布号 | CN218962401U |
| 授权公告日 | 2023-05-05 |
| 分类号 | B01F29/85;B01F35/12;B01F35/60;B01F101/14N |
| 分类 | 一般的物理或化学的方法或装置; |
| 申请人名称 | 海南南国食品实业有限公司 |
| 申请人地址 | 海南省海口市美兰区顺达路5-1号 |
专利法律状态
2023-05-05
授权
状态信息
授权
摘要
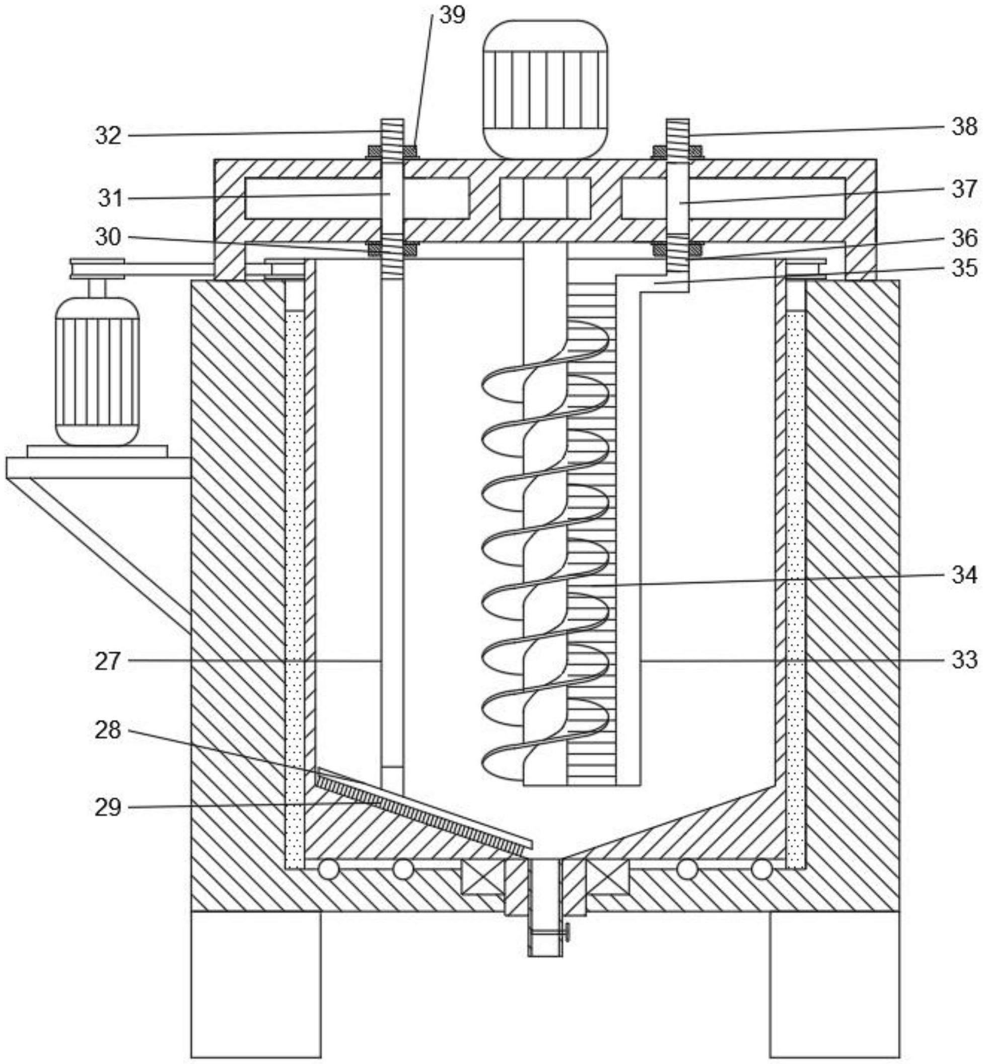
本实用新型公开了一种食品混浆装置,包括箱座,箱座底部设有支撑脚,箱座顶部向下开设有圆柱状桶坑,桶坑底壁中心处开设有穿透箱座底部的轴孔,桶坑内转动设有上端开口的混浆桶,混浆桶底部设有主轴,主轴转动插设在轴孔中,主轴内开设有从上到下穿透主轴的排料孔,排料孔内设有排料管,排料管上设有排料阀,混浆桶的侧壁顶部固定套设有环形驱动轮,箱座外设有驱动环形驱动轮的第一驱动机构,箱座的顶部还设有支撑架,混浆桶内还设有搅拌轴,搅拌轴上端转动安装在支撑架上,支撑架上还设有驱动搅拌轴的第二驱动机构,处于混浆桶内的搅拌轴上还设有螺旋搅拌叶,支撑架上还可拆卸的安装有底部清洁部件和侧方清洁部件。


