授权公布号:CN218751811U
一种具有分离空袋功能的糖果输送装置
有效
申请
2022-11-02
申请公布
1970-01-01
授权
2023-03-28
预估到期
2032-11-02
| 申请号 | CN202222902056.9 |
| 申请日 | 2022-11-02 |
| 授权公布号 | CN218751811U |
| 授权公告日 | 2023-03-28 |
| 分类号 | B65B57/04;B65B57/14 |
| 分类 | 输送;包装;贮存;搬运薄的或细丝状材料; |
| 申请人名称 | 海南南国食品实业有限公司 |
| 申请人地址 | 海南省海口市美兰区顺达路5-1号 |
专利法律状态
2023-03-28
授权
状态信息
授权
摘要
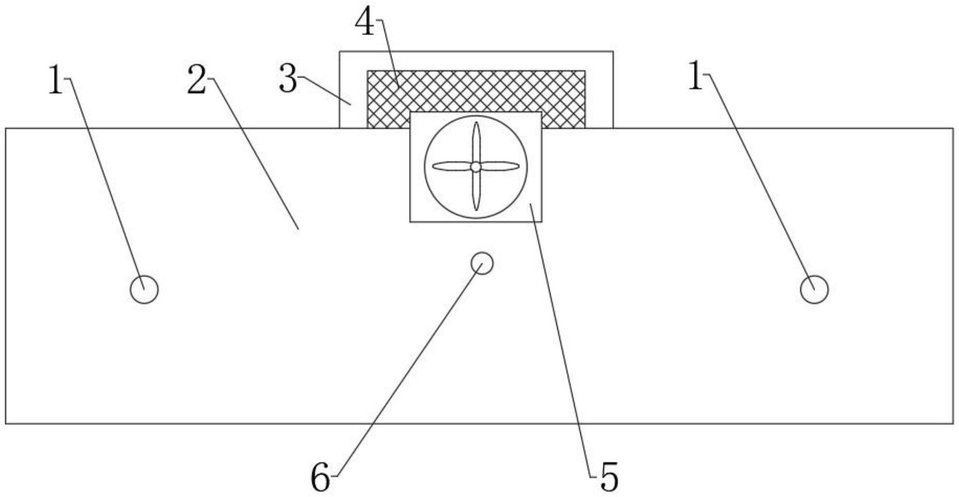
本实用新型涉及一种具有分离空袋功能的糖果输送装置,包括机架,机架内设有传送带,且机架一侧设有风机,机架内转动设有从动轮,从动轮上间隔设有多个啮合齿,传送带上设有多个与啮合齿相匹配的齿槽,啮合齿高度大于传送带厚度,当啮合齿啮合于齿槽内时,啮合齿穿出传送带上表面以将空袋顶高,机架相对于风机的一侧上设有空袋收集组件。利用齿槽和啮合齿相啮合的作用,在传送糖果时,传送带带动从动轮旋转,使得啮合齿穿过齿槽将空袋顶起,使气流能进入空袋下方以快速将空袋吹离传送带,大大提高了空袋分离效果和效率,利用风机和空袋收集组件相对设置,使得空袋直接被吹入空袋收集组件中,方便于空袋的收集。


