授权公布号:CN217322260U
极薄面皮馄饨输送装置
有效
申请
2022-03-29
申请公布
1970-01-01
授权
2022-08-30
预估到期
2032-03-29
| 申请号 | CN202220704443.9 |
| 申请日 | 2022-03-29 |
| 授权公布号 | CN217322260U |
| 授权公告日 | 2022-08-30 |
| 分类号 | B65G47/82 |
| 分类 | 输送;包装;贮存;搬运薄的或细丝状材料; |
| 申请人名称 | 统一企业(中国)投资有限公司 |
| 申请人地址 | 上海市长宁区临虹路131号101室 |
专利法律状态
2022-08-30
授权
状态信息
授权
摘要
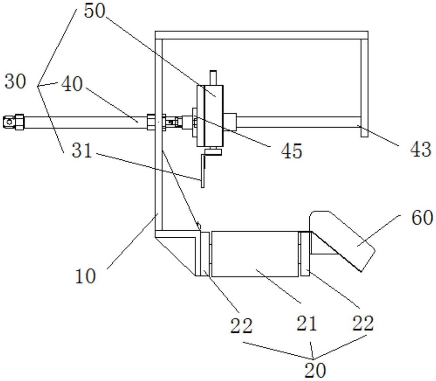
本实用新型涉及一种极薄面皮馄饨输送装置,包括机架,所述机架上设有送料单元、推料单元和滑槽单元,所述送料单元用于产品的输送,所述推料单元包括水平驱动模组、上下驱动模组和推料板,水平驱动模组安装于所述机架上,上下驱动模组安装于所述水平驱动模组上,所述推料板安装于所述上下驱动模组上且所述上下驱动模组能够驱动推料板上下运行,所述推料板在水平驱动模组的作用下能够将送料单元上的产品推入所述滑槽单元内,所述送料单元运行的方向与所述水平驱动模组运行的方向相互垂直。本实用新型能够有效地防止产品发生破损、裂纹等现象。


