授权公布号:CN218431973U
一种包装盒转向机构
有效
申请
2022-10-31
申请公布
1970-01-01
授权
2023-02-03
预估到期
2032-10-31
| 申请号 | CN202222885012.X |
| 申请日 | 2022-10-31 |
| 授权公布号 | CN218431973U |
| 授权公告日 | 2023-02-03 |
| 分类号 | B65B35/44;B65B35/58 |
| 分类 | 输送;包装;贮存;搬运薄的或细丝状材料; |
| 申请人名称 | 重庆市天友乳业股份有限公司 |
| 申请人地址 | 重庆市渝北区金石大道99号 |
专利法律状态
2023-02-03
授权
状态信息
授权
摘要
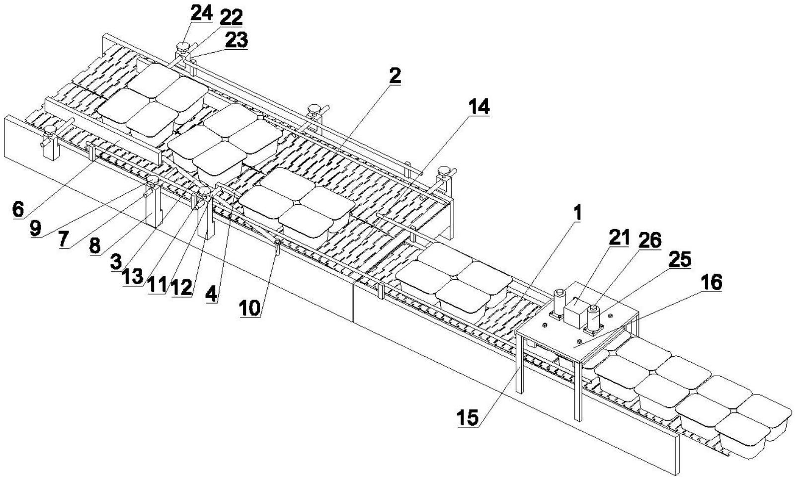
本实用新型涉及生产设备技术领域,具体为一种包装盒转向机构,包括首尾相邻的第一传动带和位于第一传动传送方向前方的第二传动带,第二传动带上部左侧设有前端向内倾斜的挡杆,挡杆的上部设有用于与联杯包装盒左前角处接触的挡件,挡件位于联杯包装盒左侧边缘与挡杆接触点处的内侧;接触点至第二传动带右侧边缘的距离大于联杯包装盒的长度;在第二传动带上方,挡杆的前端两侧均设有与联杯包装盒长度相匹配的限位挡板;利用传动带的传送以及挡杆、挡件的配合,使联杯包装盒与挡杆、挡件发生接触时,让联杯包装盒翻转转向,使联杯包装盒由宽度方向垂直于传送方向翻转为平行于传送方向,具有结构简单,翻转效果好,节省人工的特点,提高了工作效率。


