授权公布号:CN218434829U
一种用于清除PET瓶盖盖屑的装置
有效
申请
2022-10-31
申请公布
1970-01-01
授权
2023-02-03
预估到期
2032-10-31
| 申请号 | CN202222882719.5 |
| 申请日 | 2022-10-31 |
| 授权公布号 | CN218434829U |
| 授权公告日 | 2023-02-03 |
| 分类号 | B67B3/20;B08B5/04 |
| 分类 | 开启或封闭瓶子、罐或类似的容器;液体的贮运; |
| 申请人名称 | 重庆市天友乳业股份有限公司 |
| 申请人地址 | 重庆市渝北区金石大道99号 |
专利法律状态
2023-02-03
授权
状态信息
授权
摘要
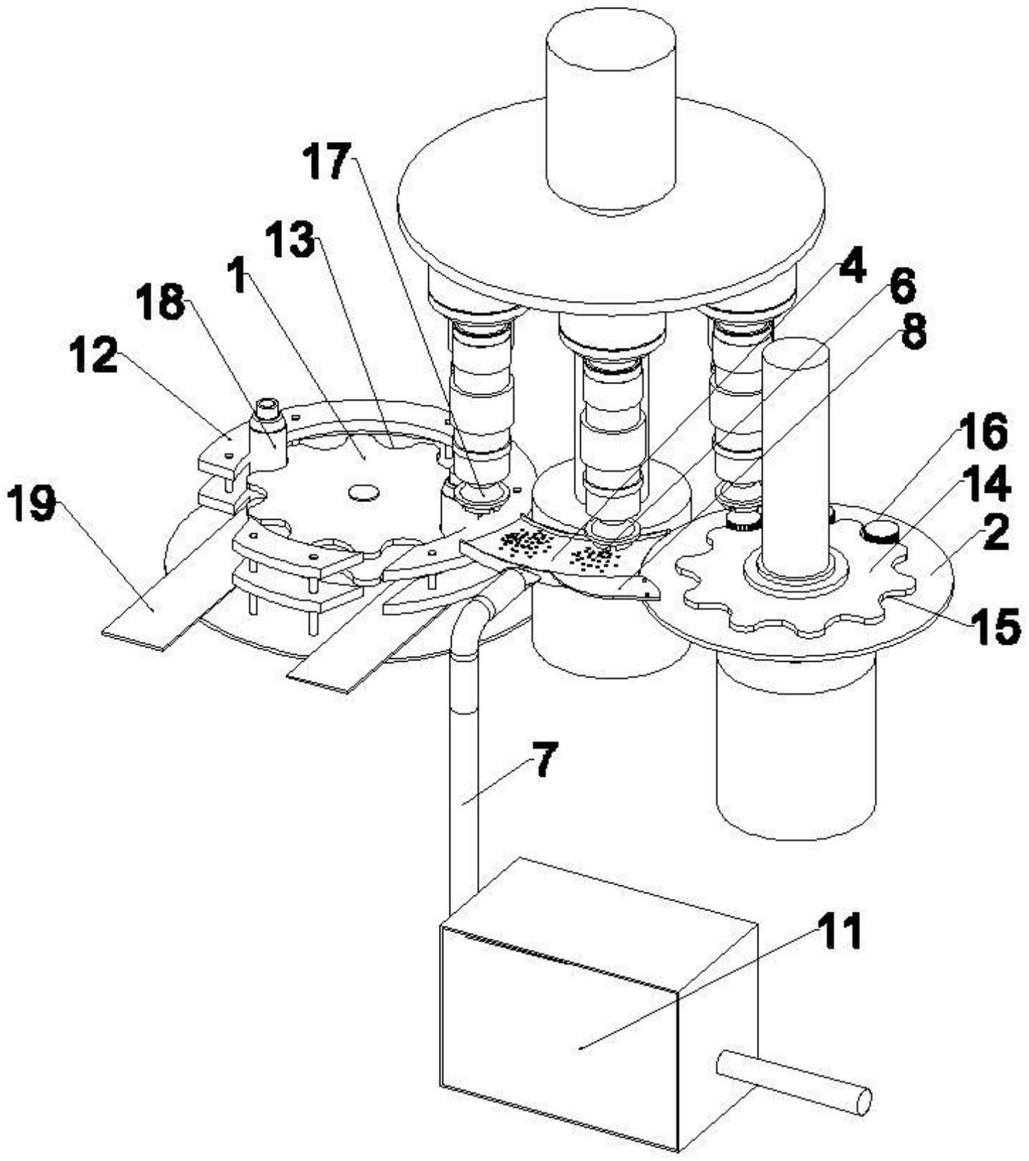
本实用新型涉及生产设备技术领域,具体为一种用于清除PET瓶盖盖屑的装置,包括设置在旋转架和分拨盘之间的圆弧形的轨道架,轨道架长度方向上的延伸形状与拧盖器旋转路径相匹配,底板与分拨盘的边缘齐平;轨道架包括底板以及位于底板底部的空腔;底板上设有与空腔连通的散布孔;空腔外侧连通有气管,气管连通有负压装置;1、通过负压装置产生空气吸力,将粘在拧盖器内和PET瓶盖内部的盖屑吸入吸尘箱内,避免拧盖器在为包装瓶旋盖时,盖屑落入包装瓶内,降低了产品质量隐患;2、直接将用于吸走盖屑的轨道架安装在旋转架和分拨盘之间即可,安装方便,不会对原有设备做出大改动,除屑效果显著。


