授权公布号:CN217629602U
一种能自动开启的道闸
有效
申请
2022-06-10
申请公布
1970-01-01
授权
2022-10-21
预估到期
2032-06-10
| 申请号 | CN202221473663.1 |
| 申请日 | 2022-06-10 |
| 授权公布号 | CN217629602U |
| 授权公告日 | 2022-10-21 |
| 分类号 | E01F13/06 |
| 分类 | 道路、铁路或桥梁的建筑; |
| 申请人名称 | 浙江李子园食品股份有限公司 |
| 申请人地址 | 浙江省金华市金东区曹宅镇李子园工业园 |
专利法律状态
2022-10-21
授权
状态信息
授权
摘要
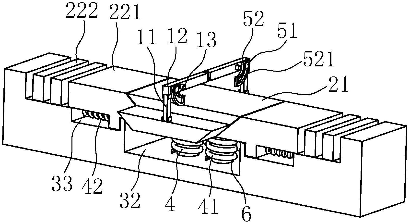
本实用新型公开了一种能自动开启的道闸,包括拦截部和能控制拦截部开启的驱动部,所述驱动部活动嵌设于地面内,包括承载车辆并能通过车辆自重而下降的驱动板,拦截部包括与驱动板活动连接的活动连接杆,活动连接杆上端活动连接有阻拦杆,阻拦杆铰接有铰接轴,铰接轴与位于地面上端的挡板固连,所述驱动部还连接有能使其在车辆离开后回复原位的支撑复位结构。本实用新型中,驱动板在叉车及货物的自重下而下降,驱动板下移带动活动连接杆下移,活动连接杆带动阻拦杆绕铰接轴转动,使得阻拦杆远离活动连接杆的一端向上转动,从而打开阻拦杆,叉车能通过阻拦杆,当叉车离开后,通过支撑复位结构使驱动部回复原位,并等待下辆叉车通过。


