授权公布号:CN105107741B
茶叶风选机
有效
申请
2015-09-17
申请公布
2015-12-02
授权
2019-04-16
预估到期
2035-09-17
| 申请号 | CN201510593478.4 |
| 申请日 | 2015-09-17 |
| 申请公布号 | CN105107741A |
| 申请公布日 | 2015-12-02 |
| 授权公布号 | CN105107741B |
| 授权公告日 | 2019-04-16 |
| 分类号 | B07B9/00;B07B7/01;B07B11/02;B07B11/06 |
| 分类 | 将固体从固体中分离;分选; |
| 申请人名称 | 云南滇红集团股份有限公司 |
| 申请人地址 | 云南省临沧市凤庆县凤山镇南城新区(滇红生态产业园区) |
专利法律状态
2019-04-16
授权
状态信息
授权
2017-07-25
实质审查的生效
状态信息
实质审查的生效;IPC(主分类):B07B9/00;申请日:20150917
2015-12-02
公布
状态信息
公布
摘要
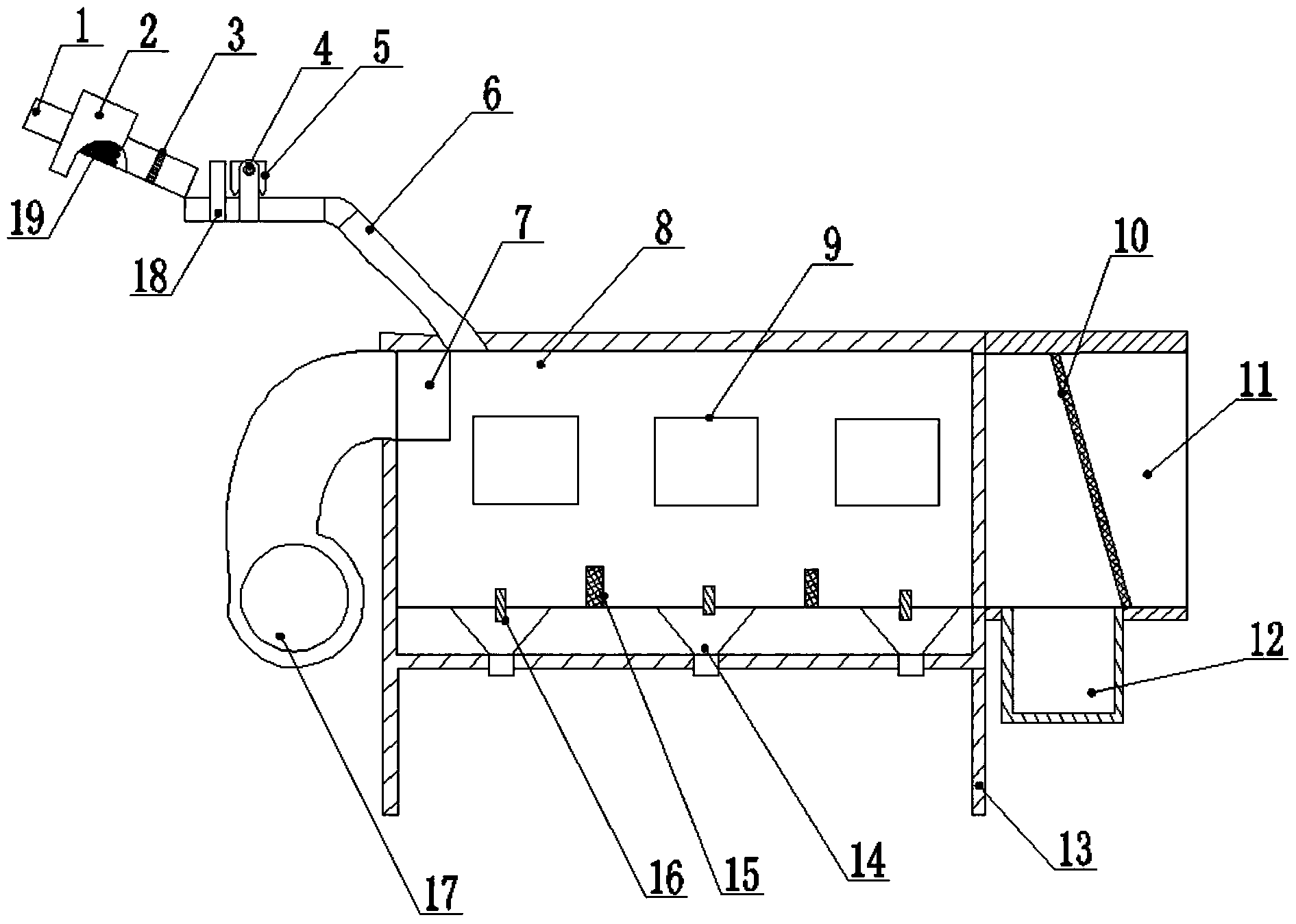
本发明提供一种茶叶风选机,包括风选通道和送料装置,所述送料装置包括负压箱、匀料装置和传送带,所述负压箱包括负压除尘室,所述负压除尘室内转动套装有转筒,所述转筒临近所述传送带端向下倾斜,位于所述负压除尘室内的转筒壁均匀布置有多个筛孔,所述转筒的一端设有转动齿圈,所述转筒内转动安装有搅动装置;所述匀料装置包括多个横向齿刷和丝杠,所述横向齿刷固定在所述丝杠上,所述丝杠轴向与所述传送带的长度方向垂直,所述丝杠转动安装在位于所述传送带两侧的第一支架上;所述匀料装置还包括纵向齿刷,所述纵向齿刷固定在位于所述横向齿刷的前侧的第二支架上。本发明的风流场理想,风选质量高,无浪费、无污染,特别适合风选茶叶之用。


