授权公布号:CN215684574U
一种茯茶加工用拼配机
有效
申请
2021-07-19
申请公布
1970-01-01
授权
2022-02-01
预估到期
2031-07-19
| 申请号 | CN202121642759.1 |
| 申请日 | 2021-07-19 |
| 授权公布号 | CN215684574U |
| 授权公告日 | 2022-02-01 |
| 分类号 | A23F3/06 |
| 分类 | 其他类不包含的食品或食料;及其处理; |
| 申请人名称 | 益阳茶厂有限公司 |
| 申请人地址 | 湖南省益阳市赫山区龙岭工业园 |
专利法律状态
2022-02-01
授权
状态信息
授权
摘要
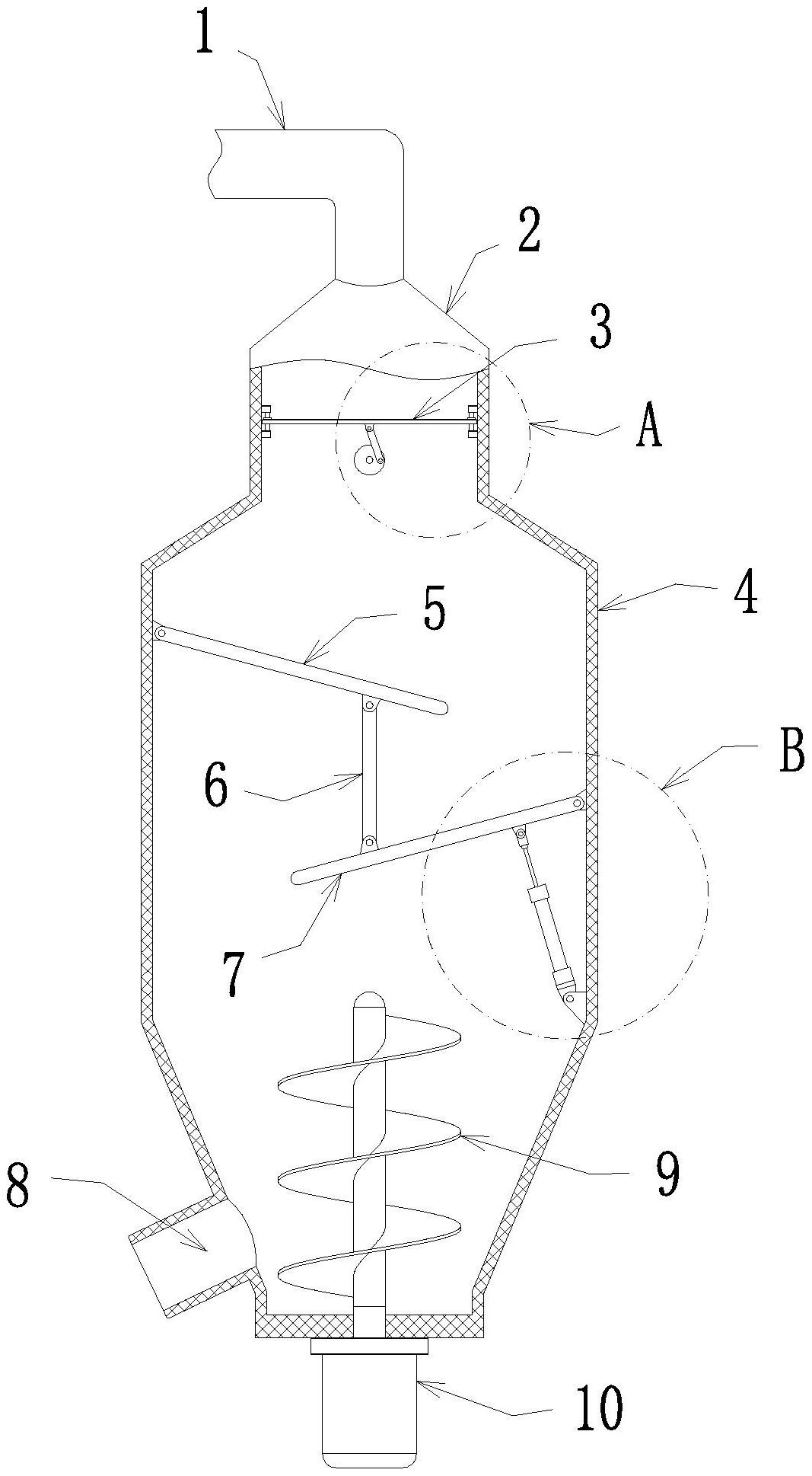
本实用新型公开了拼配机技术领域的一种茯茶加工用拼配机,包括进料管、拼配仓、出料口、搅拌电机、螺旋搅拌片、上落料挡板、下落料挡板、铰链杆,上落料挡板或下落料挡板由驱动单元驱动其沿与拼配仓的铰接处上下摆动,进而使铰链杆带动上落料挡板及下落料挡板上下摆动。通过设置上落料挡板及下落料挡板,能够对进入拼配仓内的茶叶原料进行阻挡,降低茶叶原料落入拼配仓底部的速度,这样使得螺旋搅拌片对茶叶的混合效果较好,通过设置铰链杆及驱动单元,由驱动单元驱动上落料挡板或下落料挡板沿与拼配仓的铰接处摆动,从而能够使上落料挡板、下落料挡板同步摆动,以调节茶叶落入拼配仓底部的速度。


