授权公布号:CN215695667U
一种茯茶加工用筛选机
有效
申请
2021-07-19
申请公布
1970-01-01
授权
2022-02-01
预估到期
2031-07-19
| 申请号 | CN202121641390.2 |
| 申请日 | 2021-07-19 |
| 授权公布号 | CN215695667U |
| 授权公告日 | 2022-02-01 |
| 分类号 | B07B1/28;B07B1/42;B07B1/46;B07B4/02;B07B9/00;A23F3/06 |
| 分类 | 将固体从固体中分离;分选; |
| 申请人名称 | 益阳茶厂有限公司 |
| 申请人地址 | 湖南省益阳市赫山区龙岭工业园 |
专利法律状态
2022-02-01
授权
状态信息
授权
摘要
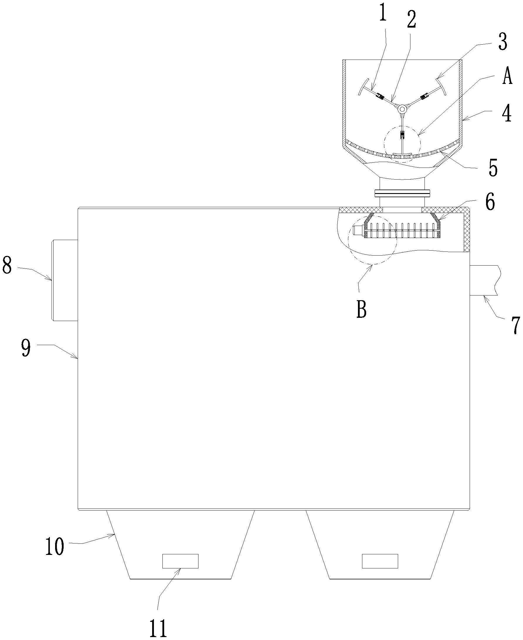
本实用新型公开了筛选机技术领域的一种茯茶加工用筛选机,包括筛选仓、进料斗、出料口、鼓风机接口、排风口、弧形筛网、筛孔、搅动组件,搅动组件包括转轴、安装杆、缓冲结构、搅动板,筛选仓内设有分散组件,分散组件用于对由进料斗落入筛选仓内的茶叶原料进行分散。通过设置分散组件,由分散组件对落入筛选仓内的茶叶原料进行分散,这样使得茶叶在落入筛选仓内的过程中较为均匀,这样风选效果较佳,提升风选精度,通过设置弧形筛网、搅动板,由弧形筛网对茶叶原料进行筛选,能够对茶叶原料中的粗梗杂质进行筛选,同时搅动板能够对茶叶原料进行搅动,进而避免茶叶原料堵塞弧形筛网而影响筛选精度。


