授权公布号:CN215695861U
一种茯茶分级混合机分级机构
有效
申请
2021-07-19
申请公布
1970-01-01
授权
2022-02-01
预估到期
2031-07-19
| 申请号 | CN202121641389.X |
| 申请日 | 2021-07-19 |
| 授权公布号 | CN215695861U |
| 授权公告日 | 2022-02-01 |
| 分类号 | B07B9/00 |
| 分类 | 将固体从固体中分离;分选; |
| 申请人名称 | 益阳茶厂有限公司 |
| 申请人地址 | 湖南省益阳市赫山区龙岭工业园 |
专利法律状态
2022-02-01
授权
状态信息
授权
摘要
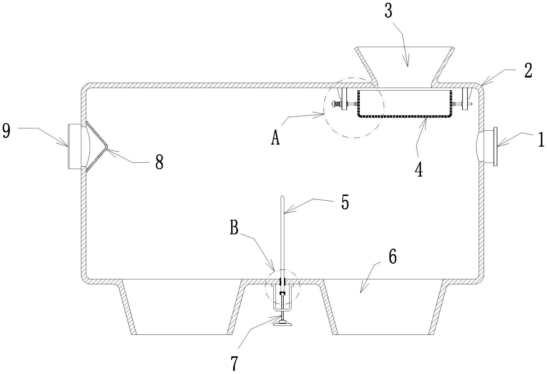
本实用新型公开了茶叶混合设备技术领域的一种茯茶分级混合机分级机构,包括仓体、鼓风机接口、排风口、投料口、隔板、储料空间、出料口、网栅、筛孔、滑动柱、安装部,两个滑动柱分别穿透两个安装部且能水平自由滑动,其中一个滑动柱由往复平移单元驱动其水平往复移动,进而带动网栅水平往复移动,隔板由升降调节单元驱动其上下移动。通过网栅的水平往复移动,实现对落入网栅内的茶叶原料进行筛选,同时实现使茶叶原料均匀分散开来,这样茶叶原料落入仓体内时较为分散,使得风选效果较好,提升风选分级精度,通过设置隔板上下滑动,使得隔板顶端与仓体内底壁的纵向高度能够调节,进而可调节风选分级的精度。


