授权公布号:CN109028584B
一种锅炉余热集热器
有效
申请
2018-06-01
申请公布
2018-12-18
授权
2020-07-24
预估到期
2038-06-01
| 申请号 | CN201810555088.1 |
| 申请日 | 2018-06-01 |
| 申请公布号 | CN109028584A |
| 申请公布日 | 2018-12-18 |
| 授权公布号 | CN109028584B |
| 授权公告日 | 2020-07-24 |
| 分类号 | F24H9/00;F23J15/06 |
| 分类 | 供热;炉灶;通风; |
| 申请人名称 | 益阳茶厂有限公司 |
| 申请人地址 | 湖南省益阳市赫山区龙岭工业园 |
专利法律状态
2020-07-24
授权
状态信息
授权
2019-01-11
实质审查的生效
状态信息
实质审查的生效IPC(主分类):F24H 9/00
2018-12-18
公布
状态信息
公布
摘要
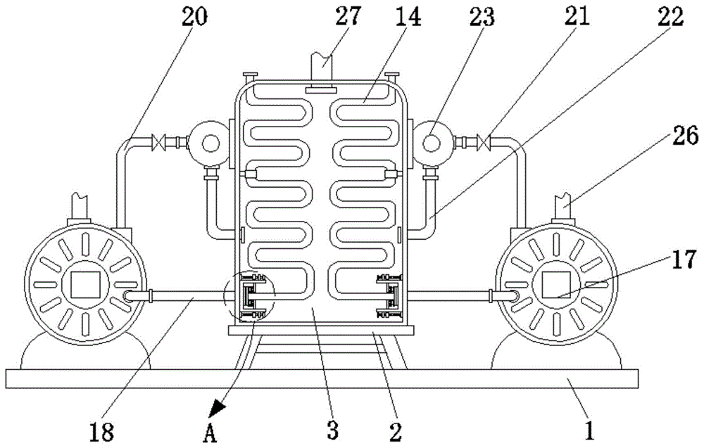
本发明提供一种锅炉余热集热器。所述锅炉余热集热器包括:底板;支撑架,所述支撑架固定于所述底板的顶部;预热仓,所述预热仓的底部固定于所述支撑架的顶部;两个U型块,两个所述U型块分别固定于所述预热仓内壁的两侧,所述U型块的顶部和底部的两侧均固定连接有固定板,两个所述固定板相对的一侧之间通过轴承转动连接有螺纹杆。本发明提供的锅炉余热集热器,可以很好的对提前预热仓内部的水源进行加热,具有很好的余热回收功能,从而节约了大量的能源成本,并且可以对导热管进行拆卸,便于导热管的清洗和维修,以保证更好的与预热仓内部的冷水进行换热,提高了余热回收设备的实用性。


