授权公布号:CN215695671U
一种茯茶加工用震动筛
有效
申请
2021-07-27
申请公布
1970-01-01
授权
2022-02-01
预估到期
2031-07-27
| 申请号 | CN202121723686.9 |
| 申请日 | 2021-07-27 |
| 授权公布号 | CN215695671U |
| 授权公告日 | 2022-02-01 |
| 分类号 | B07B1/28;B07B1/42;B07B1/46;B07B1/52;B07B9/00;A23F3/06 |
| 分类 | 将固体从固体中分离;分选; |
| 申请人名称 | 益阳茶厂有限公司 |
| 申请人地址 | 湖南省益阳市赫山区龙岭工业园 |
专利法律状态
2022-02-01
授权
状态信息
授权
摘要
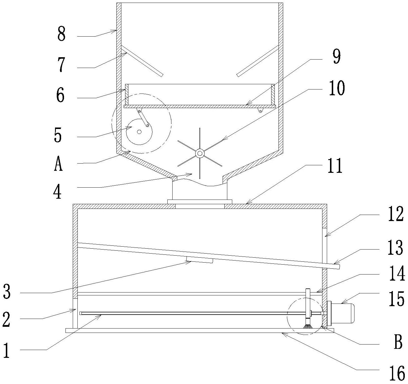
本实用新型公开了茶叶筛选设备技术领域的一种茯茶加工用震动筛,包括筛选仓、出料口、筛网、震动驱动单元、分离仓,分离仓底部敞口且设有底板,分离仓内倾斜安装有下端延伸至分离仓外部的细筛网,分离仓外壁上设有供细筛网倾斜的下端穿出的出料槽,其下端设有连通其内部的收集口,分离仓内设有清理组件。通过设置分离仓及分离仓中的细筛网,能够对经由震动筛选后的茶叶原料进行再次筛选,将茶叶原料中的碎末与茶叶分离出来,分离出来的茶叶碎末落入分离仓内,且由清理组件将茶叶碎末进行清理,以便对茶叶碎末进行筛选,通过设置震动器,以震动作用力来提升茶叶碎末的分离筛选效率。


