授权公布号:CN215695617U
一种茯茶加工用多级筛选设备
有效
申请
2021-07-19
申请公布
1970-01-01
授权
2022-02-01
预估到期
2031-07-19
| 申请号 | CN202121642734.1 |
| 申请日 | 2021-07-19 |
| 授权公布号 | CN215695617U |
| 授权公告日 | 2022-02-01 |
| 分类号 | B07B1/24;B07B1/28;B07B1/42;B07B1/46;B07B9/00;A23F3/06 |
| 分类 | 将固体从固体中分离;分选; |
| 申请人名称 | 益阳茶厂有限公司 |
| 申请人地址 | 湖南省益阳市赫山区龙岭工业园 |
专利法律状态
2022-02-01
授权
状态信息
授权
摘要
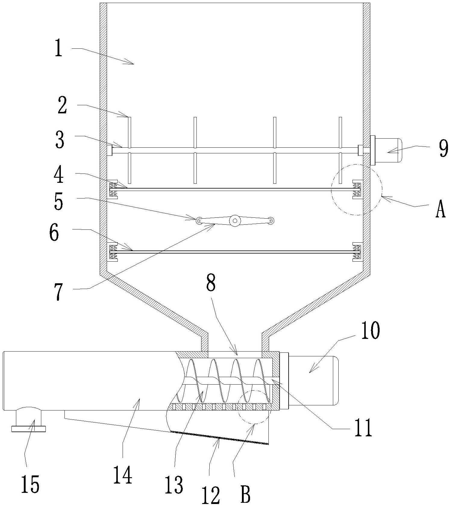
本实用新型公开了茶叶筛选设备技术领域的一种茯茶加工用多级筛选设备,包括筛选仓、出料口、第一筛网、第二筛网、缓冲组件、转轴、摆动臂、滚轮,转轴转动时,使滚轮间歇抵顶第一筛网、第二筛网,进而使第一筛网、第二筛网竖直移动,转轴设于第一筛网、第二筛网之间。通过设置第一筛网、第二筛网,并由转轴的转动,使摆动臂转动,进而使滚轮间歇抵顶第一筛网、第二筛网,使得第一筛网、第二筛网能够上下震动,通过震动的作用,使得能够提升茶叶原料的筛选效率,通过设置缓冲组件,能够对第一筛网、第二筛网的上下移动进行缓冲,同时使第一筛网、第二筛网能够自行复位,以配合摆动臂,驱动第一筛网、第二筛网上下震动。


