授权公布号:CN215885243U
一种便于通风的茶叶加工用传送带
有效
申请
2021-08-10
申请公布
1970-01-01
授权
2022-02-22
预估到期
2031-08-10
| 申请号 | CN202121859005.1 |
| 申请日 | 2021-08-10 |
| 授权公布号 | CN215885243U |
| 授权公告日 | 2022-02-22 |
| 分类号 | B65G41/00;A23F3/06;F28D1/053 |
| 分类 | 输送;包装;贮存;搬运薄的或细丝状材料; |
| 申请人名称 | 浙江茗皇天然食品开发股份有限公司 |
| 申请人地址 | 浙江省衢州市龙游县小南海镇 |
专利法律状态
2022-02-22
授权
状态信息
授权
摘要
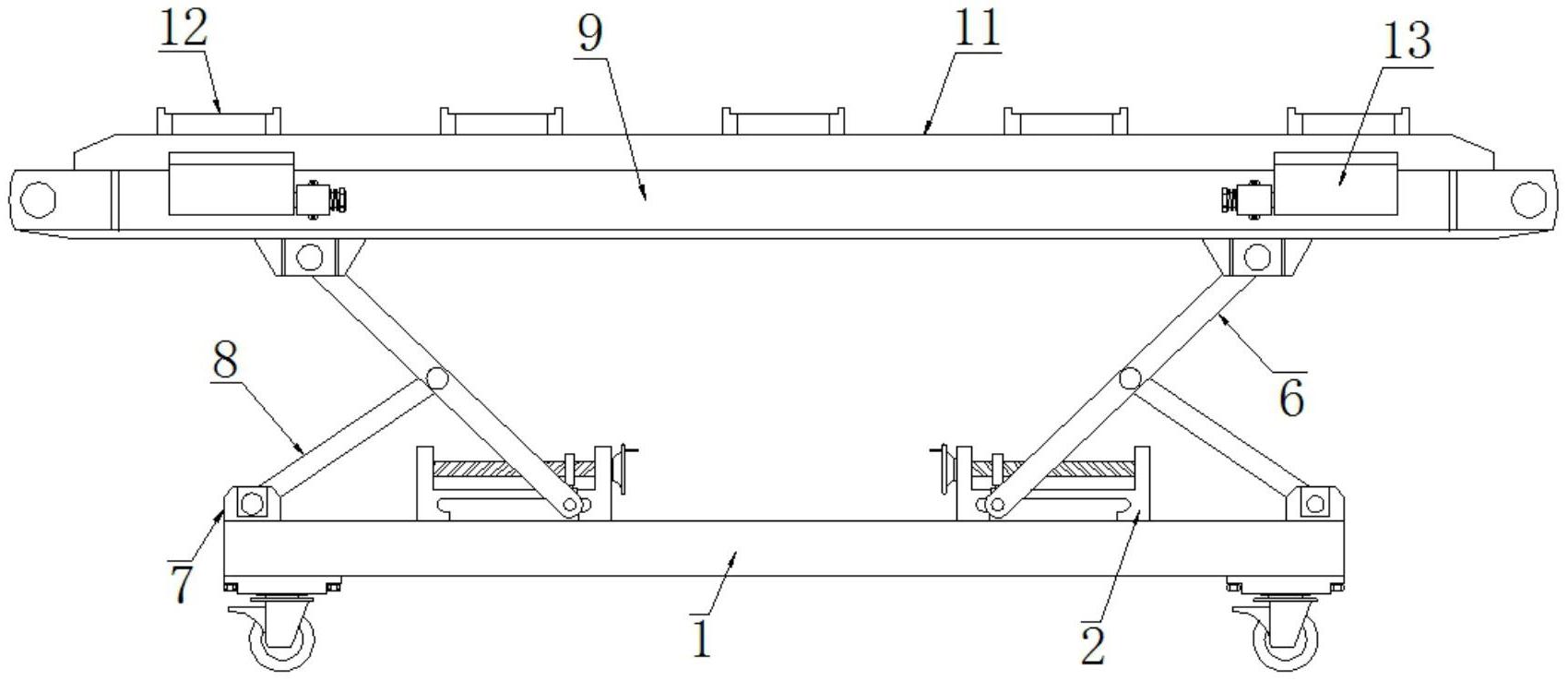
本实用新型公开了一种便于通风的茶叶加工用传送带,包括安装座,安装于所述底座的上表面,且安装座的内端设置有螺杆,所述螺杆的外表面连接有套块,且套块的底端设置有连接轴,并且连接轴的外侧连接有支撑杆,所述底座的上表面安装有底块,且底块的外侧连接有对接杆,并且对接杆的顶端与支撑杆的中端轴连接,安装块设置于所述基座的上端,且安装块的上端设置有风扇,并且安装块的侧端安装有连接块。该便于通风的茶叶加工用传送带,设置有支撑杆和对接杆,通过螺杆的转动使得连接轴带动支撑杆进行角度偏移,从而对基座进行高度抬升,使得传送带的输入口或者输出口的高度改变,进而使传送带与其他加工机械进行对接时,输送更加稳定。


