授权公布号:CN215208353U
高速自动封罐机
有效
申请
2021-01-25
申请公布
1970-01-01
授权
2021-12-17
预估到期
2031-01-25
| 申请号 | CN202120199481.9 |
| 申请日 | 2021-01-25 |
| 授权公布号 | CN215208353U |
| 授权公告日 | 2021-12-17 |
| 分类号 | B67B3/00 |
| 分类 | 开启或封闭瓶子、罐或类似的容器;液体的贮运; |
| 申请人名称 | 重庆云升食品饮料有限公司 |
| 申请人地址 | 重庆市合川区思居工业园 |
专利法律状态
2021-12-17
授权
状态信息
授权
摘要
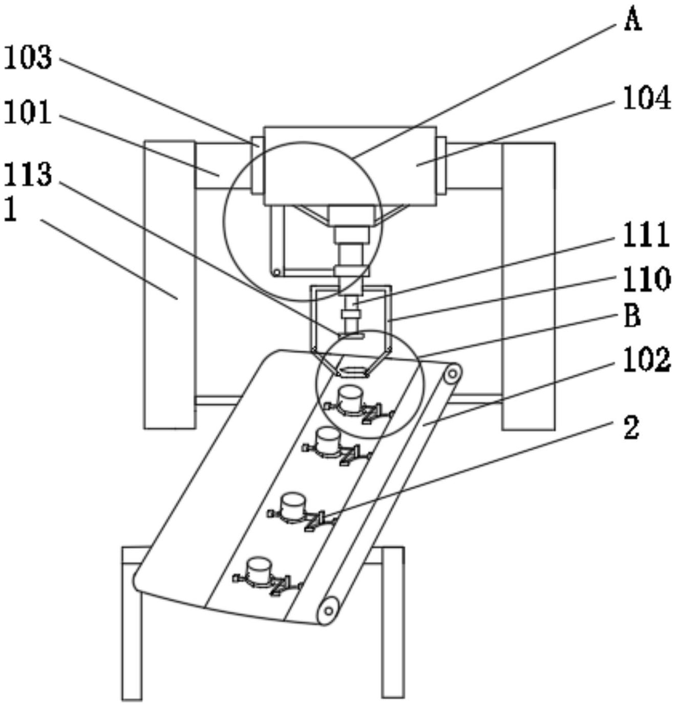
本实用新型涉及封罐技术领域,具体的说是高速自动封罐机,包括下连接架,所述连接架上端连接安装有滑杆,所述连接架下端连接安装有电动输送带,所述电动输送带上端连接安装有稳定组件。本实用新型通过把罐体放置于电动输送带上连接的第二卡环内,接着对滑道内部滑动的滑杆进行移动调节,使连杆连接的第一卡环进行卡紧罐体同时与第二卡环进行接触连接,进而实现在运输罐体时具有稳定固定罐体的功能,接着启动动力主轴驱动封罐盘进行转动,紧接着启动气缸推动动力主轴向下,此时启动电动滑轨带动工作箱下端连接的气缸与液压杆从而使整个机构能够进行左右上下移动,进行使封罐盘向下施压转动对罐体完成封罐工作。


