授权公布号:CN217973224U
一种速溶茶加工用酶解装置
有效
申请
2022-06-30
申请公布
1970-01-01
授权
2022-12-06
预估到期
2032-06-30
| 申请号 | CN202221659365.1 |
| 申请日 | 2022-06-30 |
| 授权公布号 | CN217973224U |
| 授权公告日 | 2022-12-06 |
| 分类号 | C12M1/40;C12M1/00;A23F3/06 |
| 分类 | 生物化学;啤酒;烈性酒;果汁酒;醋;微生物学;酶学;突变或遗传工程; |
| 申请人名称 | 福建春伦集团有限公司 |
| 申请人地址 | 福建省福州市仓山区城山84号 |
专利法律状态
2022-12-06
授权
状态信息
授权
摘要
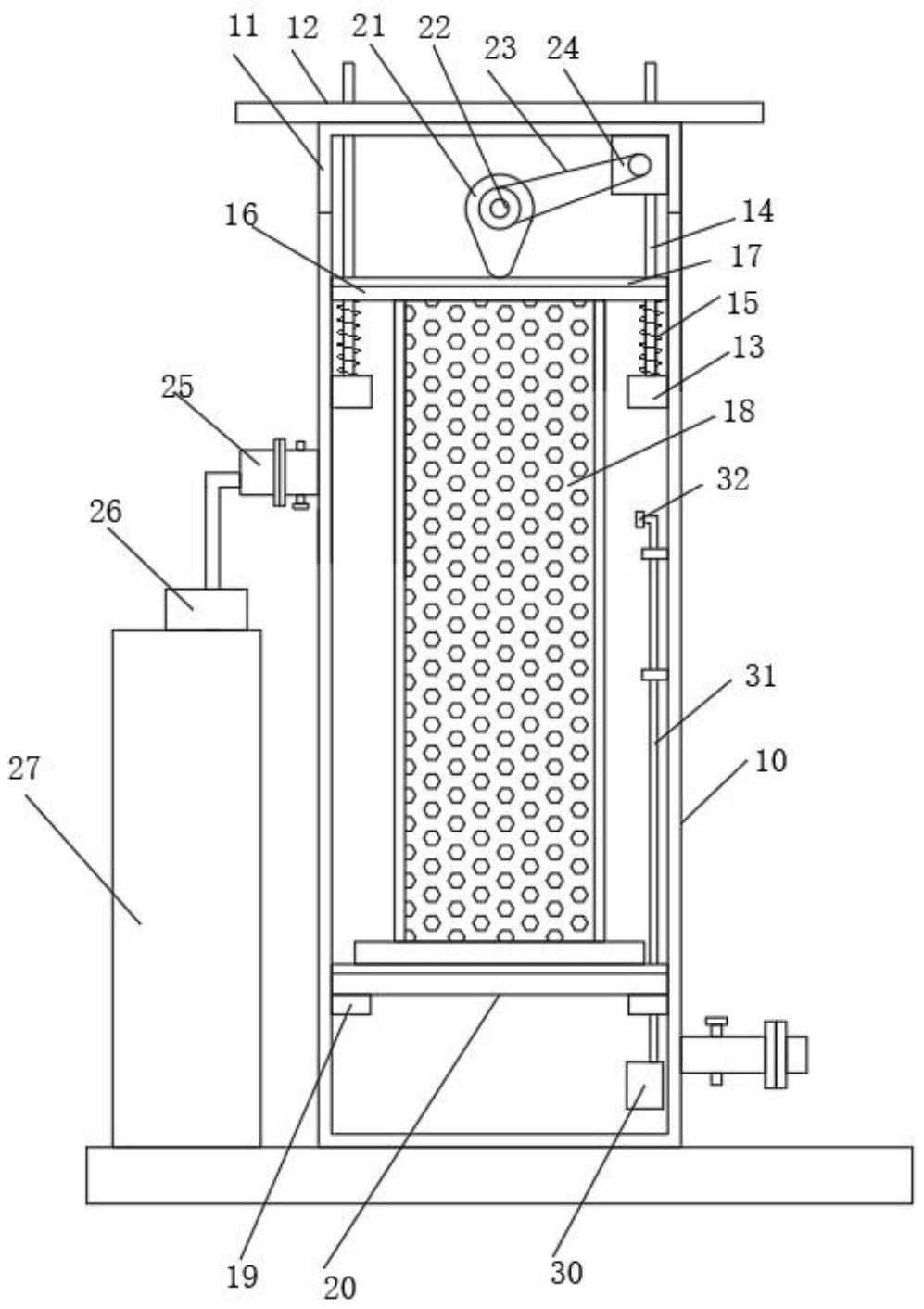
本实用新型公开了一种速溶茶加工用酶解装置,包括釜体和釜盖,所述釜体内壁通过固定块安装有支撑杆,所述支撑杆上套设有弹簧顶板和压板,所述顶板底部固定有筒体,所述釜盖内腔通过转轴安装有凸轮,所述转轴通过皮带连接电动机,所述釜体内腔底部安装有第二水泵,所述第二水泵通过提升管连接喷头。本实用新型结构设计科学合理,通过设置支撑杆、弹簧、凸轮、转轴、皮带和电动机等结构配合使用,可以持续形成震荡效果,使得筒体及内部放置的物料来回上下移动,使得物料与酶解液体充分混合,从而有效加快速溶茶物料的酶解催化效率,进一步加快液体流动速率,保证筒体内部的速溶茶物料快速酶解催化。


