授权公布号:CN217124848U
一种多功能窨花用茉莉花运输装置
有效
申请
2022-04-06
申请公布
1970-01-01
授权
2022-08-05
预估到期
2032-04-06
| 申请号 | CN202220770770.4 |
| 申请日 | 2022-04-06 |
| 授权公布号 | CN217124848U |
| 授权公告日 | 2022-08-05 |
| 分类号 | B62B3/02;B62B3/04 |
| 分类 | 无轨陆用车辆; |
| 申请人名称 | 福建春伦集团有限公司 |
| 申请人地址 | 福建省福州市仓山区城山84号 |
专利法律状态
2022-08-05
授权
状态信息
授权
摘要
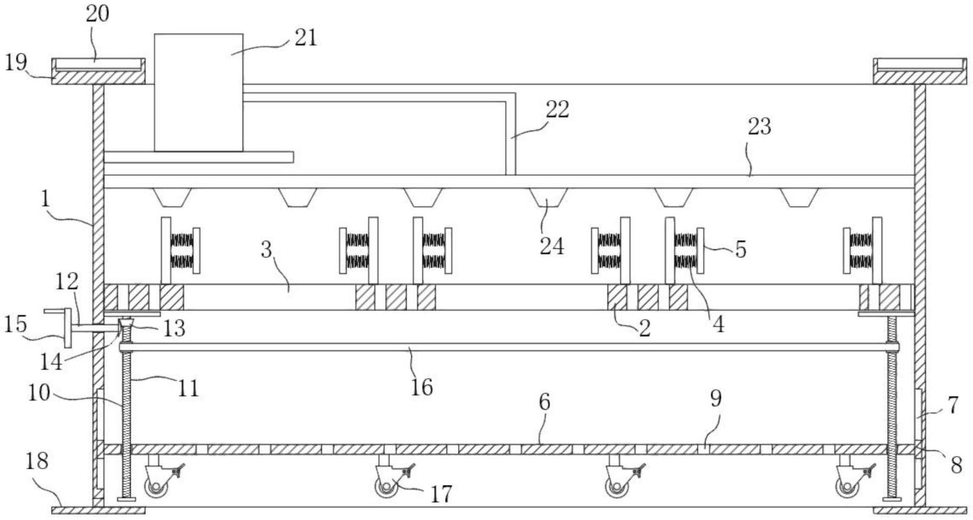
本实用新型公开了一种多功能窨花用茉莉花运输装置,包括运输箱和放置板,所述运输箱底部活动卡接有底板,所述底板底端设置有万向轮,所述底板上连接有高度调节装置,所述运输箱底端固定连接有固定板,所述运输箱上端固定连接有插块,所述插块上设置有插槽,所述运输箱内设置有水箱,所述水管底端设置有喷头。该种多功能窨花用茉莉花运输装置通过放置孔对花束进行卡接固定,避免花束之间相互挤压摇晃,影响鲜花的质量,利用高度调节装置可对底板的高度进行调节,利用万向轮便于对运输箱进行移动,提高便携性,通过运输箱内的水箱和喷头的配合,可对运输箱内的鲜花进行清水喷洒。


