授权公布号:CN212076294U
一种食品车间转运箱专用板式运输车
有效
申请
2020-05-11
申请公布
1970-01-01
授权
2020-12-04
预估到期
2030-05-11
| 申请号 | CN202020758464.X |
| 申请日 | 2020-05-11 |
| 授权公布号 | CN212076294U |
| 授权公告日 | 2020-12-04 |
| 分类号 | B66F7/06 |
| 分类 | 卷扬;提升;牵引; |
| 申请人名称 | 云南省通海斯贝佳食品有限公司 |
| 申请人地址 | 云南省玉溪市通海曲陀关 |
专利法律状态
2020-12-04
授权
状态信息
授权
摘要
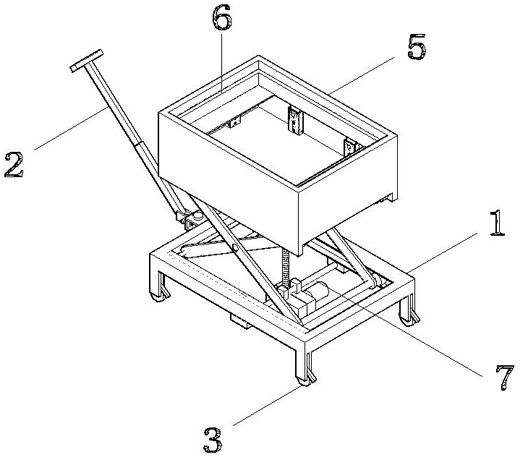
本实用新型公开了一种食品车间转运箱专用板式运输车,涉及运输工具领域。包括移动转向单元、定位单元和高度升降单元;本实用新型通过设置移动转向、定位和高度升降三个功能单元,有效解决了传统转运车在急停或急转弯时,货物容易在底框上滑动,从而使货物从转运车的前面或两侧掉落,以及各工位放置物料的地方高低不同,工人进行装卸时极为不便的问题;本实用新型具有结构简单、成本低廉、使用方便迅速、节省劳力节约时间等优点。


