授权公布号:CN205634098U
食品盒输送带转接口防倾倒装置
有效
申请
2015-12-15
申请公布
1970-01-01
授权
2016-10-12
预估到期
2025-12-15
| 申请号 | CN201521044809.0 |
| 申请日 | 2015-12-15 |
| 授权公布号 | CN205634098U |
| 授权公告日 | 2016-10-12 |
| 分类号 | B65G47/52 |
| 分类 | 输送;包装;贮存;搬运薄的或细丝状材料; |
| 申请人名称 | 云南省通海斯贝佳食品有限公司 |
| 申请人地址 | 云南省玉溪市通海县曲陀关 |
专利法律状态
2019-05-31
著录事项变更
状态信息
著录事项变更IPC(主分类):B65G 47/52变更前 发明人:普绩 发明人:姚世波变更后 发明人:普绩
2016-10-12
授权
状态信息
授权
摘要
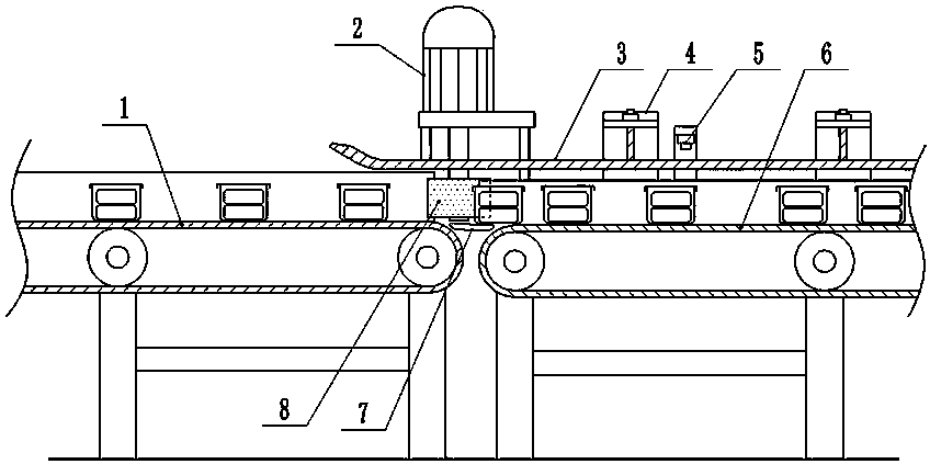
食品盒输送带转接口防倾倒装置,由前端的装盒输送带和后端的装箱输送带构成,在两个输送带之间安装有衔接板和拔轮,拔轮的中心安装在电机的转轴上,在装盒输送带后端安装有聚拢杆,在装箱输送带上安装有感应头,装箱输送带上安装有支架,支架上安装有压板,压板位于装箱输送带上方中部,压板的前端呈喇叭口形,伸入到衔接板前端、装盒输送带的上方。由于本实用新型在装箱输送带的上方中部安装了压板,压板延伸至衔接板前端的装盒输送带的上方,在装盒输送带的出口处出现拥挤时,压板压在包装盒的上方,有效防止包装盒出现翻倒情况,确保包装盒单排进入装箱输送带。


