授权公布号:CN205455803U
电磁熬糖锅
有效
申请
2015-12-15
申请公布
1970-01-01
授权
2016-08-17
预估到期
2025-12-15
| 申请号 | CN201521044808.6 |
| 申请日 | 2015-12-15 |
| 授权公布号 | CN205455803U |
| 授权公告日 | 2016-08-17 |
| 分类号 | A23G3/04 |
| 分类 | 其他类不包含的食品或食料;及其处理; |
| 申请人名称 | 云南省通海斯贝佳食品有限公司 |
| 申请人地址 | 云南省玉溪市通海县曲陀关 |
专利法律状态
2019-05-31
著录事项变更
状态信息
著录事项变更IPC(主分类):A23G 3/04变更前 发明人:普绩 发明人:姚世波变更后 发明人:普绩
2016-08-17
授权
状态信息
授权
摘要
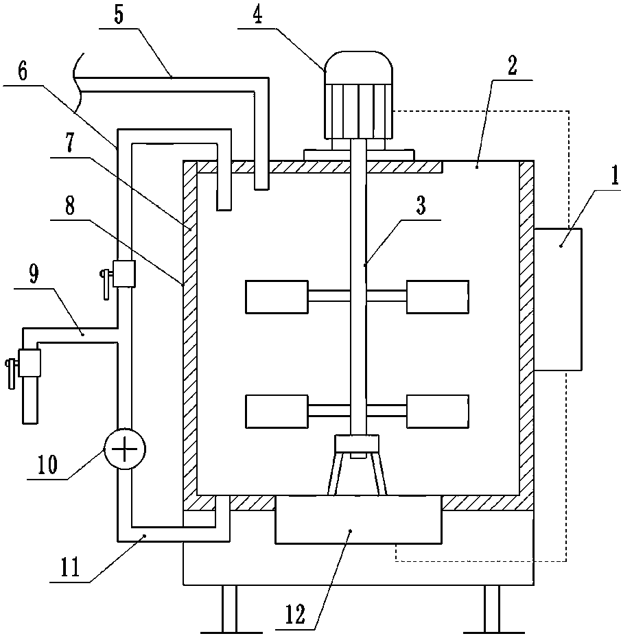
电磁熬糖锅,锅体呈圆筒形,侧壁上设计有保温层,锅体中心设计有带叶片的搅拌轴,搅拌轴的下部活动固定在锅体内底部,搅拌轴的上部连接在锅体外的电机上,锅体上部设计有加水管和加料口,在锅体底部外侧设计有电磁加热器,锅体底部设计有出液总管,出液总管上安装有抽液泵,抽液泵的出管分为两个安装有阀门的支管,其中一个支管为出液管,另一个支管为循环管,循环管的上口接锅体上部,电机和电磁加热器与锅体外侧壁上的电控器连接。采用可以减少热量损失,提高设备使用寿命;出液总管分为循环管和出液管两支,可以在糖液处于保温状态时,用抽液泵将锅体内的糖液快速放出,或者让锅体底部温度较高的糖液循环到锅体上口,保持上下温度的均衡。


