授权公布号:CN219781505U
一种冰皮面包馅料注入装置
有效
申请
2023-05-26
申请公布
1970-01-01
授权
2023-10-03
预估到期
2033-05-26
| 申请号 | CN202321307144.2 |
| 申请日 | 2023-05-26 |
| 授权公布号 | CN219781505U |
| 授权公告日 | 2023-10-03 |
| 分类号 | A23P20/25 |
| 分类 | 其他类不包含的食品或食料;及其处理; |
| 申请人名称 | 云南嘉华食品有限公司 |
| 申请人地址 | 云南省昆明市呈贡工业园七甸片区绿色产业园区 |
专利法律状态
2023-10-03
授权
状态信息
授权
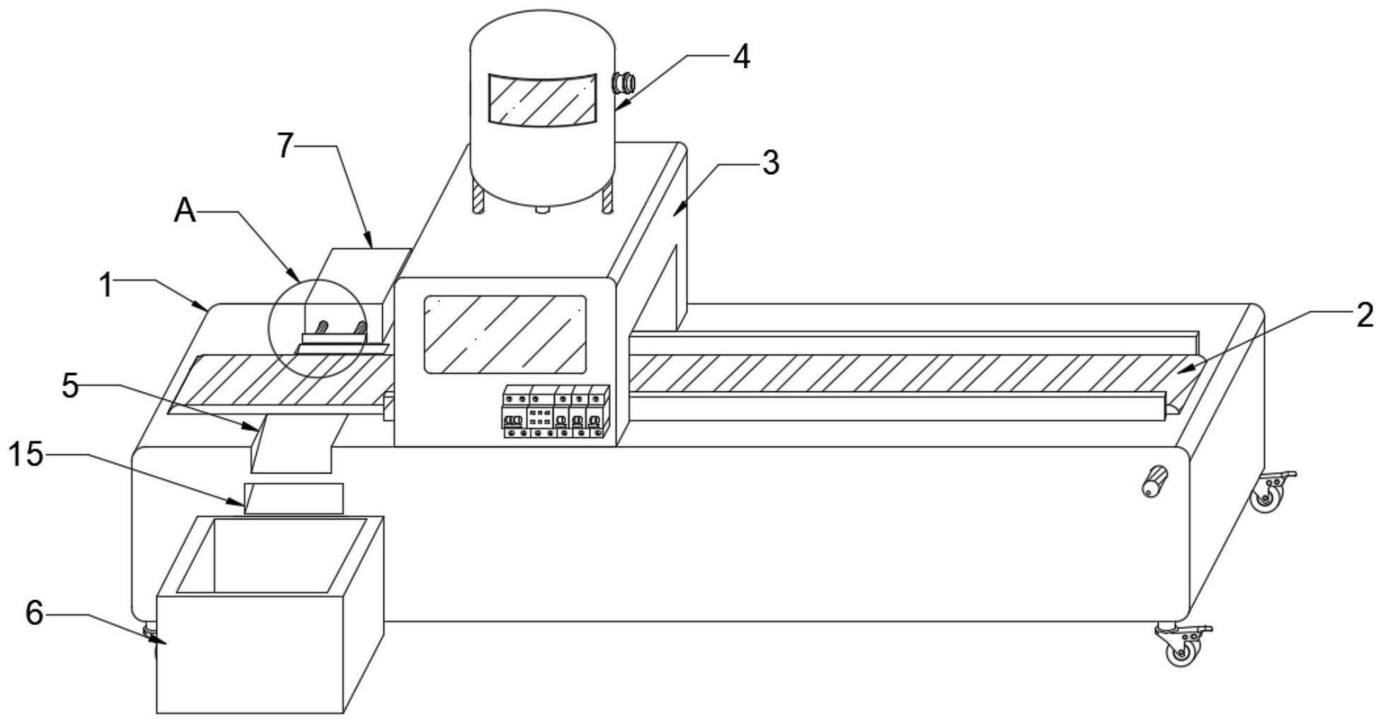
摘要
本实用新型公开了一种冰皮面包馅料注入装置,涉及冰皮面包生产技术领域,包括底座,所述底座的顶部设置有输送机、固定架、推料架,所述固定架的底部和顶部分别设置有固定槽和储料箱,所述固定槽内设置有注料组件,所述注料组件与储料箱连接,所述底座的顶部和前侧分别设置有下料槽和集渣箱,所述推料架内滑动设置有滑件,所述滑件的前侧设置有两个推杆,所述推杆的另一端设置有推板且其上套接有弹簧,所述推料架内设置有用于驱动推板运动推料的驱动组件。本实用新型中,该冰皮面包馅料注入装置原理简单,操作方便,不仅可方便对冰皮注入馅料,还可将皮带上沾附的碎屑有效清洁,有利于推广使用。


