授权公布号:CN212911433U
一种戚风蛋糕生产用混搅装置
有效
申请
2020-09-03
申请公布
1970-01-01
授权
2021-04-09
预估到期
2030-09-03
| 申请号 | CN202021899290.5 |
| 申请日 | 2020-09-03 |
| 授权公布号 | CN212911433U |
| 授权公告日 | 2021-04-09 |
| 分类号 | A21C1/14;A21C1/06 |
| 分类 | 焙烤;制作或处理面团的设备;焙烤用面团〔1,8〕; |
| 申请人名称 | 揭阳市港荣食品发展有限公司 |
| 申请人地址 | 广东省揭阳市揭丰公路锡场工业区 |
专利法律状态
2021-04-09
授权
状态信息
授权
摘要
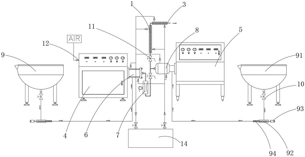
本实用新型公开了戚风蛋糕加工技术领域的一种戚风蛋糕生产用混搅装置,包括混搅管,混搅管内设置有若干个混搅叶片,混搅管的一端开设有出料口,混搅管的下方连接有第一打发机与第二打发机,第一打发机的一侧连接有第一混料转子,第一混料转子的一侧通过连接管连接有充气囊,第二打发机的一侧连接有第二混料转子,充气囊与第二混料转子的出料端通过连接管共同连接到混搅管的底部,第二混料转子与第一混料转子远离混搅管的一端分别连接有送料装置;本实用新型,蛋白混搅料、蛋黄混搅料通过送料装置进入到第一混料转子与第二混料转子中进行打发混搅,后通过搅拌管进行混搅,相对比现有技术整体上搅拌效果更好。


