授权公布号:CN212545322U
自动注浆机
有效
申请
2020-07-13
申请公布
1970-01-01
授权
2021-02-19
预估到期
2030-07-13
| 申请号 | CN202021365748.9 |
| 申请日 | 2020-07-13 |
| 授权公布号 | CN212545322U |
| 授权公告日 | 2021-02-19 |
| 分类号 | A21C9/08 |
| 分类 | 焙烤;制作或处理面团的设备;焙烤用面团〔1,8〕; |
| 申请人名称 | 揭阳市港荣食品发展有限公司 |
| 申请人地址 | 广东省揭阳市揭丰公路锡场工业区 |
专利法律状态
2021-02-19
授权
状态信息
授权
摘要
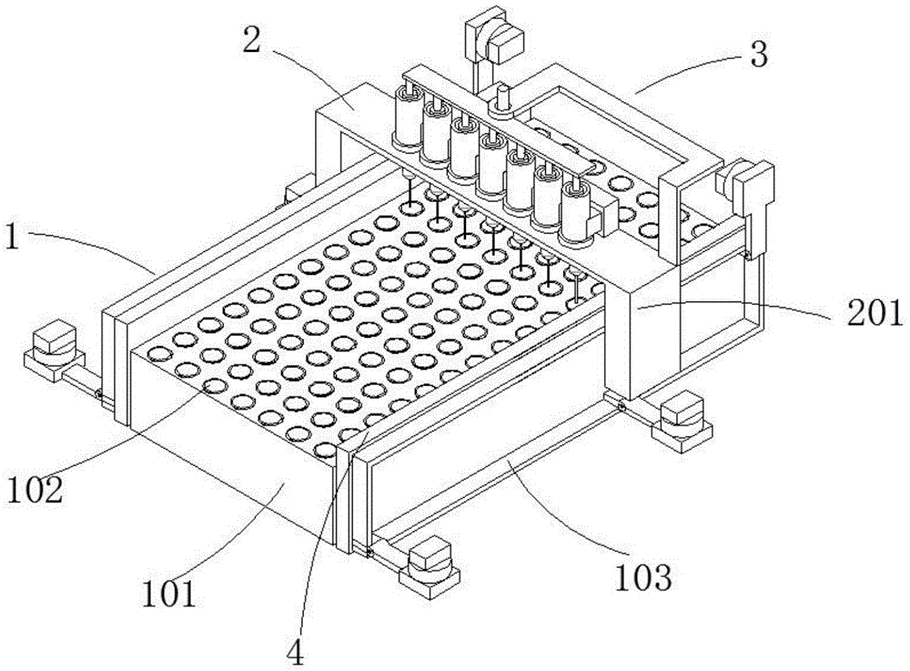
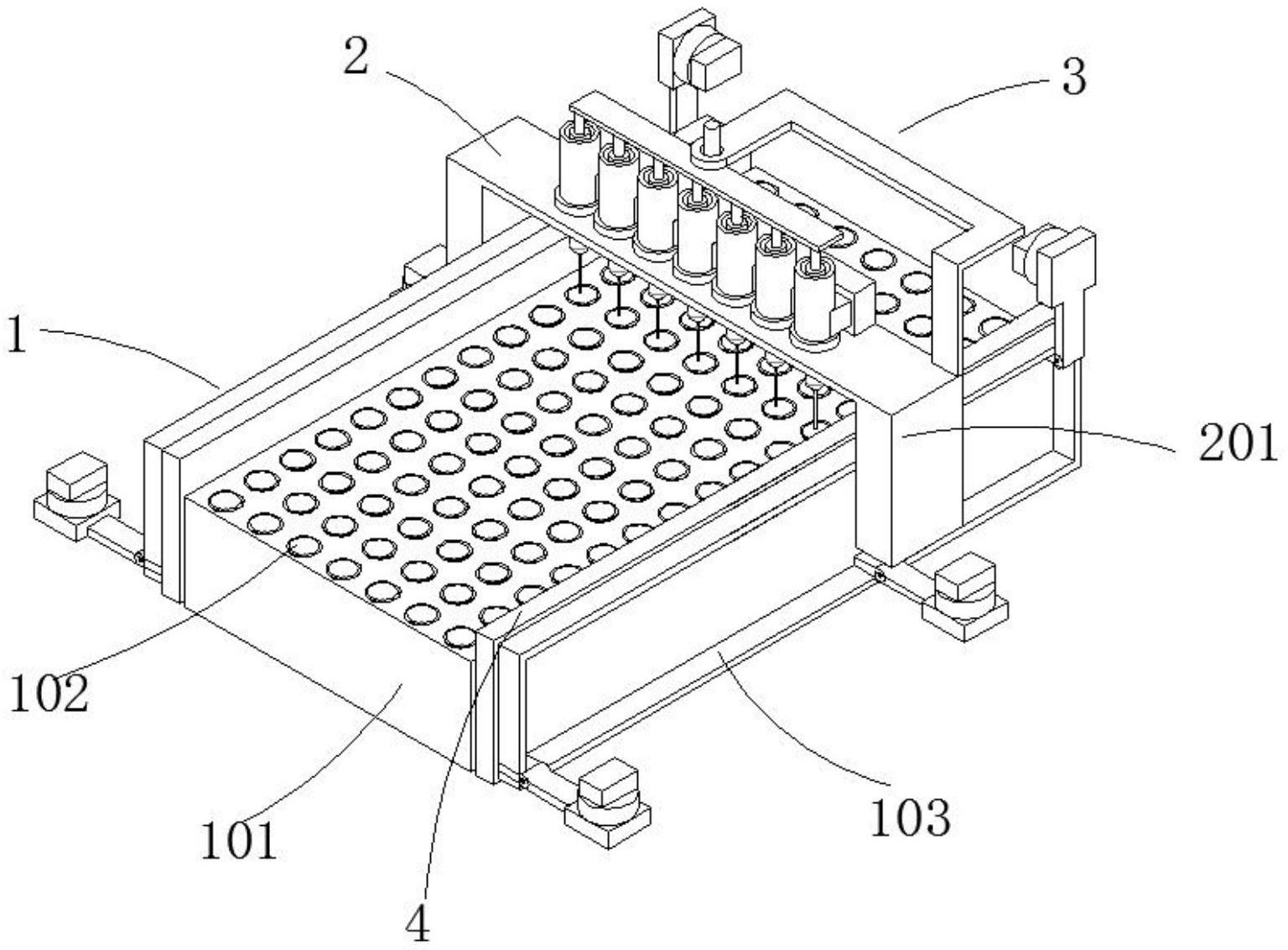
本实用新型提供了自动注浆机,涉及注浆机设备技术领域,包括包括送盘装置、注浆装置和气动装置,所述注浆装置位于送盘装置的上方,所述气动装置与所述注浆装置连接,用于驱动所述注浆装置注浆,所述送盘装置包括托盘、成型模具和移动滑轨,所述托盘活动连接在移动滑轨上,所述成型模具设有多组,均匀分布在托盘的顶面,本实用新型通过气动装置带动压杆,从而使得上下油封上下移动,并通过调节压杆上下移动的位移大小,即可调节挤出的浆料的体积的大小,从而控制产品的重量,并保持一致,使得注浆效率和质量得到提高。


