授权公布号:CN205423905U
一种农业灌溉用节水旁通阀门
有效
申请
2015-12-16
申请公布
1970-01-01
授权
2016-08-03
预估到期
2025-12-16
| 申请号 | CN201521053699.4 |
| 申请日 | 2015-12-16 |
| 授权公布号 | CN205423905U |
| 授权公告日 | 2016-08-03 |
| 分类号 | F16K5/00;F16K5/10;F16K31/60;A01G25/16 |
| 分类 | 工程元件或部件;为产生和保持机器或设备的有效运行的一般措施;一般绝热; |
| 申请人名称 | 吉林省沃特管业有限公司 |
| 申请人地址 | 吉林省长春市合隆工业园沃特路 |
专利法律状态
2016-08-03
授权
状态信息
授权
摘要
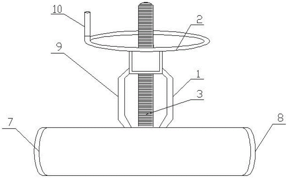
本实用新型属于农业设备技术领域且公开了一种农业灌溉用节水旁通阀门,包括阀门本体、阀杆、阀芯和出水孔,所述阀门本体上部设有转动轮,所述转动轮呈圆形状,且转动轮上设有摇把,所述摇把位于转动轮一侧,所述转动轮中心设有阀杆,所述阀杆垂直向下与底部设有的阀芯连接,所述阀芯呈圆形状且阀芯上设有出水孔,所述阀芯安装在阀腔内,所述阀腔一侧设有进水口另一侧设有出水口,所述出水口与进水口上设有卡箍,所述出水孔设有四个分为两组且大小不同。本实用新型通过不同大小的出水孔,能够便于使用者根据使用需要进行调节,避免了在农作物在灌溉过程中大量水资源的浪费,同时,满足了使用者的不同需求,有利于提高农业灌溉的工作效率。


