授权公布号:CN205925292U
一种食品生产车间除尘装置
有效
申请
2016-08-22
申请公布
1970-01-01
授权
2017-02-08
预估到期
2026-08-22
| 申请号 | CN201620919850.6 |
| 申请日 | 2016-08-22 |
| 授权公布号 | CN205925292U |
| 授权公告日 | 2017-02-08 |
| 分类号 | B01D47/06;A61L2/18 |
| 分类 | 一般的物理或化学的方法或装置; |
| 申请人名称 | 揭阳市港荣食品发展有限公司 |
| 申请人地址 | 广东省揭阳市揭丰公路锡场工业区 |
专利法律状态
2017-02-08
授权
状态信息
授权
摘要
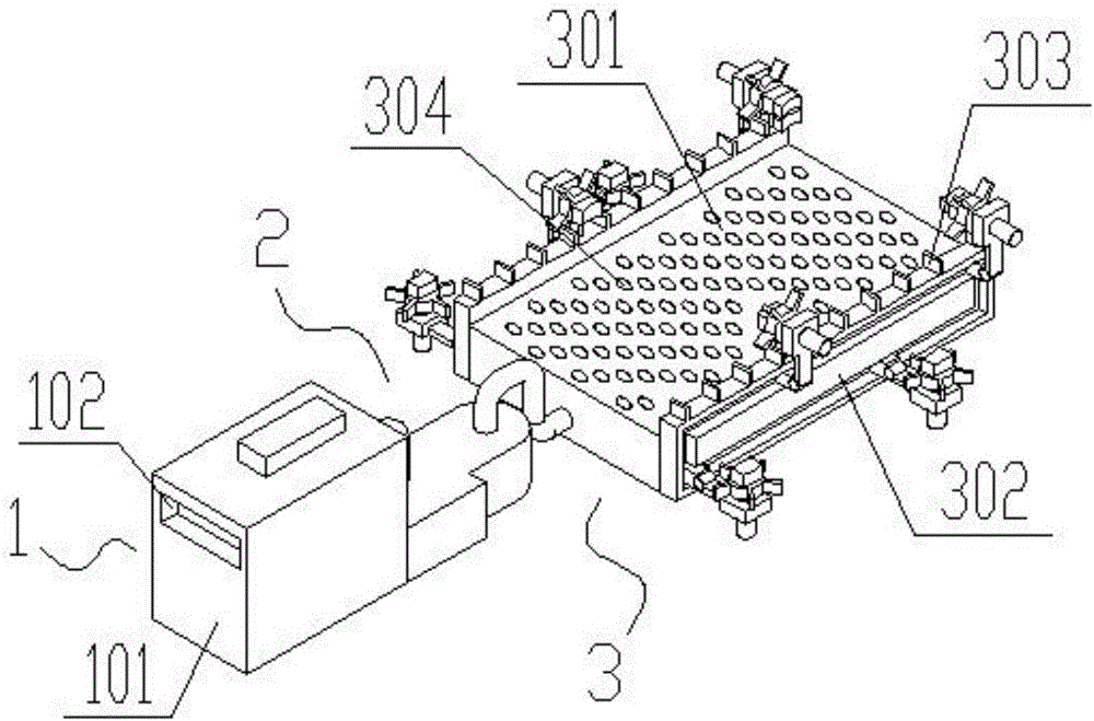
本实用新型公开了一种食品生产车间除尘装置,涉及糕点生产设备技术领域,包括制冷装置、除尘装置和冷却装置,除尘装置包括降尘仓、排水阀、喷淋仓、喷头、抽气机、洗气管、洗气仓、出气主管和出气支管,冷却装置包括冷气仓、冷却滑轨、挡板、冷气孔、冷却滑块、冷却转轴、冷却连板、转柱、转动叶和夹持头;本实用新型设有降尘装置,将经过制冷机冷却后的冷风通入降尘仓,并由喷头使用喷淋仓中的杀菌液体对空气进行降尘和消毒处理,废液由排水阀排出,经过降尘和消毒处理的空气经吸气管通入洗气仓底部,并在洗气仓的清洗水中洗去残留的消毒剂后,由出气主管和出气支管供给冷气仓,实现蛋糕的冷却,保证食品卫生和食品安全。


