授权公布号:CN209276870U
一种衣物自动挂烫机
失效
申请
2018-12-05
申请公布
1970-01-01
授权
2019-08-20
预估到期
2028-12-05
| 申请号 | CN201822030565.0 |
| 申请日 | 2018-12-05 |
| 授权公布号 | CN209276870U |
| 授权公告日 | 2019-08-20 |
| 分类号 | D06F73/00 |
| 分类 | 织物等的处理;洗涤;其他类不包括的柔性材料; |
| 申请人名称 | 广东芳园盼盼智能科技有限公司 |
| 申请人地址 | 广东省佛山市南海区里水镇里官路17号 |
专利法律状态
2023-12-15
专利权的终止
状态信息
未缴年费专利权终止;IPC(主分类):D06F 73/00;专利号:ZL2018220305650;申请日:20181205;授权公告日:20190820;终止日期:
2019-08-20
授权
状态信息
授权
摘要
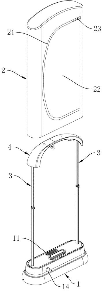
本实用新型涉及一种衣物自动挂烫机,其特点在于包括底座、布罩、至少一根竖向伸缩杆、挂衣架,其中底座的顶面上设有蒸汽发生器;所述布罩为下端开口、上端封闭的筒形结构,所述布罩的外壁上开设有贯穿至其内腔的安放口,所述安放口上缝制有开合布片,所述开合布片与安放口之间还缝合有拉链,并在拉链闭合后能使安放口封闭;所述竖向伸缩杆的下端固定在底座的顶部,所述挂衣架固定在竖向伸缩杆的上端,所述布罩同时罩置在挂衣架、竖向伸缩杆与底座上。本实用新型熨烫过程中,无需人工参与,能有效地提高熨烫的效率与降低操作人员的劳动强度,且该衣物自动挂烫机的适用性十分强。


