授权公布号:CN114054156B
一种豆制品原料处理装置
有效
申请
2021-10-28
申请公布
2022-02-18
授权
2023-03-21
预估到期
2041-10-28
| 申请号 | CN202111265327.8 |
| 申请日 | 2021-10-28 |
| 申请公布号 | CN114054156A |
| 申请公布日 | 2022-02-18 |
| 授权公布号 | CN114054156B |
| 授权公告日 | 2023-03-21 |
| 分类号 | B02C13/06;B02C13/26;A23N12/06 |
| 分类 | 破碎、磨粉或粉碎;谷物碾磨的预处理; |
| 申请人名称 | 湖南金福元食品股份有限公司 |
| 申请人地址 | 湖南省邵阳市武冈市工业园春光路 |
专利法律状态
2023-03-21
授权
状态信息
授权
2022-02-18
公布
状态信息
公布
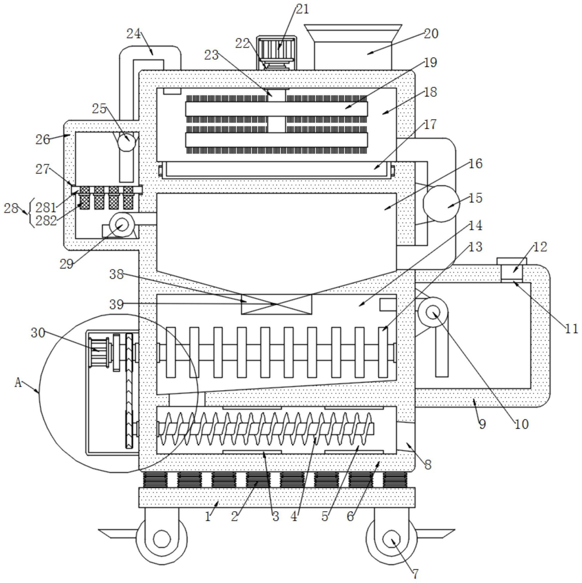
摘要
本发明属于原料处理技术领域,涉及一种豆制品原料处理装置,其中,包括底板,所述底板的顶部固定连接有若干个减震器,所述减震器的顶部固定连接有箱体,所述箱体的内部开设有第一除杂腔、第二除杂腔、破碎腔和下料腔。其有益效果是,该豆制品原料处理装置,通过驱动组件中的第二电机工作,能够带动两个第一齿轮啮合转动,进而能够实现两个第二转轴带动破碎叶转动破碎的目的,通过第二转轴转动带动第二齿轮转动,借助传送带的传动作用,能够达到带动绞龙转动实现下料的目的,节能便捷,处理连续性好,使用方便,通过第一水泵工作,能够将配液箱内的水传输至破碎腔内,达到对豆子进行混合粉碎处理的目的。


