授权公布号:CN216753506U
一种瓜子仁裹粉用上料装置
有效
申请
2021-12-17
申请公布
1970-01-01
授权
2022-06-17
预估到期
2031-12-17
| 申请号 | CN202123182292.X |
| 申请日 | 2021-12-17 |
| 授权公布号 | CN216753506U |
| 授权公告日 | 2022-06-17 |
| 分类号 | A23P20/15;A23L25/00;G01G19/14;G01G19/24;B65G69/00 |
| 分类 | 其他类不包含的食品或食料;及其处理; |
| 申请人名称 | 甘源食品股份有限公司 |
| 申请人地址 | 江西省萍乡市萍乡经济技术开发区清泉生物医药食品工业园 |
专利法律状态
2022-06-17
授权
状态信息
授权
摘要
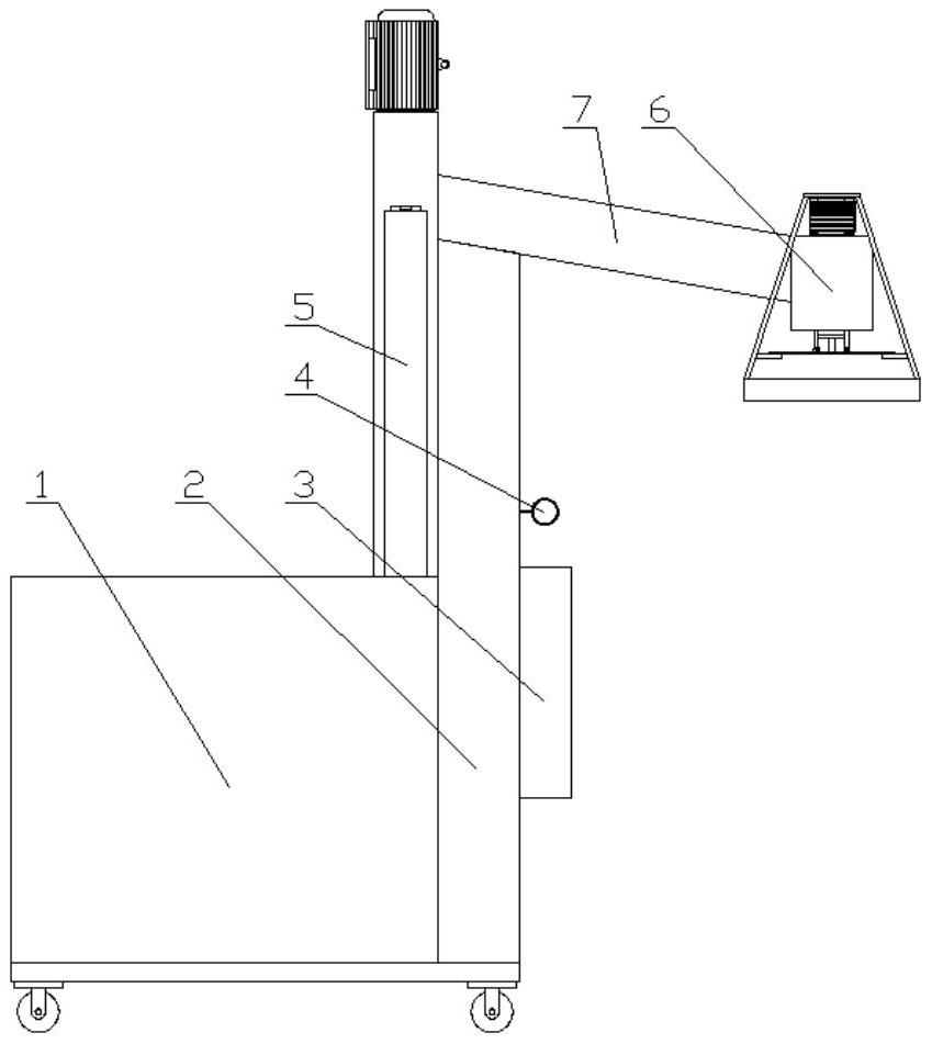
本实用新型公开了一种瓜子仁裹粉用上料装置,包括有移动料箱、定量称重装置和导料管,所述移动料箱上设置有固定支架,所述固定支架一侧固定有输送装置,所述输送装置进料端设置在移动料箱内,所述输送装置出料端通过导料管与定量称重装置连接;所述移动料箱包括有移动板,所述移动板下侧面设置有若干个万向轮,所述移动板上侧面设置有料箱,所述料箱内设置有分隔板和若干块斜板;所述输送装置包括有上料管,所述上料管一端连接有动力电机,所述上料管另一端设置在料箱;本实用新型的一种瓜子仁裹粉用上料装置,其结构简单、方便实用通过输送装置将不同的物料输送至定量称重装置中,使得上料装置完成不同物料输送,便于各种物料投放与运输。


