授权公布号:CN213299591U
一种新型工具防坠落保险手环
有效
申请
2020-09-16
申请公布
1970-01-01
授权
2021-05-28
预估到期
2030-09-16
| 申请号 | CN202022021524.2 |
| 申请日 | 2020-09-16 |
| 授权公布号 | CN213299591U |
| 授权公告日 | 2021-05-28 |
| 分类号 | F16P1/00 |
| 分类 | 工程元件或部件;为产生和保持机器或设备的有效运行的一般措施;一般绝热; |
| 申请人名称 | 四川航空股份有限公司 |
| 申请人地址 | 四川省成都市双流区双流国际机场四川航空货运部机务楼320室 |
专利法律状态
2021-05-28
授权
状态信息
授权
摘要
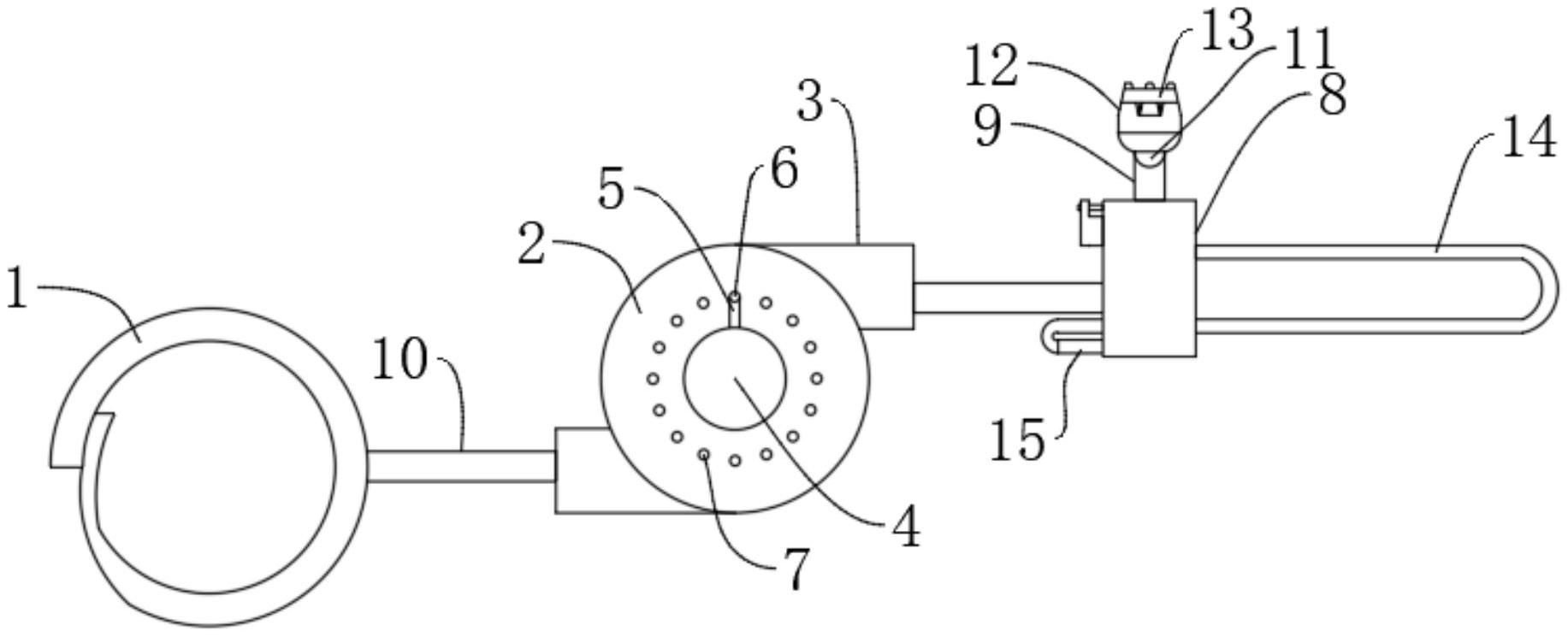
本实用新型涉及安全工具技术领域,且公开了一种新型工具防坠落保险手环;本新型工具防坠落保险手环包括收线盒,所述收线盒左右侧均固定连接有出线固定筒,所述收线盒内腔转动连接有对称设置的转轮,两个转轮外壁均固定连接有回卷弹簧,两个回卷弹簧端部均固定连接有第二连接线,左侧的第二连接线左端固定连接有固定手环,本实用新型可安装多种工具,且将操作者的手腕与工具进行连接,能有效的避免工具坠落的事件发生,以避免高空作业事故的发生,且可有效避免第二连接线伸长过多,造成收回时打结缠绕,影响使用,且在工具坠落时,由于回卷弹簧的回弹力,也保证了工具不会来回晃动,有效保护了航空器的外壁。


