授权公布号:CN210960289U
一种瓜子加工用入味料冷却桶
有效
申请
2019-10-10
申请公布
1970-01-01
授权
2020-07-10
预估到期
2029-10-10
| 申请号 | CN201921688675.4 |
| 申请日 | 2019-10-10 |
| 授权公布号 | CN210960289U |
| 授权公告日 | 2020-07-10 |
| 分类号 | A23L25/00 |
| 分类 | 其他类不包含的食品或食料;及其处理; |
| 申请人名称 | 安徽真心食品有限公司 |
| 申请人地址 | 安徽省合肥市肥东县新城开发区 |
专利法律状态
2020-07-10
授权
状态信息
授权
摘要
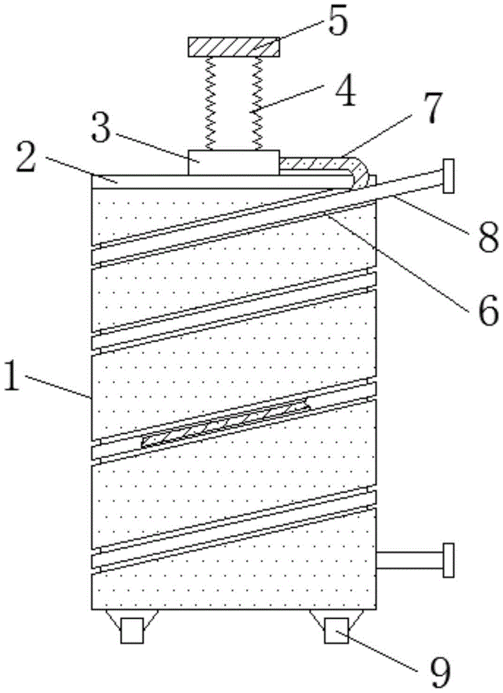
本实用新型公开了一种瓜子加工用入味料冷却桶,属于冷却桶技术领域,包括桶体,所述桶体顶部设置有桶盖,所述桶盖上设置有接料口,所述接料口与伸缩胶管连接,所述伸缩胶管一端与连接卡盖连接;所述接料口侧料设置有导料管,所述导料管外部套接有冷却管,所述导料管两端均贯穿冷却管,一端与接料口连通,另一端与桶体底部连通;所述冷却管缠绕在桶体侧壁上的限位卡槽内。本实用新型结构简单、使用方便,导料管将接料口与桶体底部连通,且导料管呈螺旋状缠绕在桶体上,通过底部进料的方式,入味料在进入桶体内时,散失更多的热量,便于入味料更快的冷却,导料管外部套接有冷却管,提高入味料冷却效率,避免热量的浪费,节能环保,适合推广使用。


