授权公布号:CN208192042U
一种生产加工用油炸食品沥油装置
有效
申请
2018-05-11
申请公布
1970-01-01
授权
2018-12-07
预估到期
2028-05-11
| 申请号 | CN201820695929.4 |
| 申请日 | 2018-05-11 |
| 授权公布号 | CN208192042U |
| 授权公告日 | 2018-12-07 |
| 分类号 | A21C5/08 |
| 分类 | 焙烤;制作或处理面团的设备;焙烤用面团〔1,8〕; |
| 申请人名称 | 安徽真心食品有限公司 |
| 申请人地址 | 安徽省合肥市肥东县新城开发区 |
专利法律状态
2018-12-07
授权
状态信息
授权
摘要
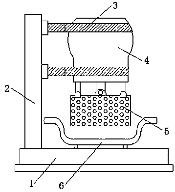
本实用新型公开了一种生产加工用油炸食品沥油装置,包括基座和设于所述基座一侧竖直设置的立柱,所述立柱一侧设有两组对称设置的卡环,所述卡环内设有运作室,所述运作室底端连接有沥油槽,所述沥油槽的底端设有接油盘,所述接油盘位于所述基座顶端,其中;所述运作室内设有两侧分别设有对称设置的第一滑槽和第二滑槽。有益效果:通过将食品放置于沥油槽内,而通过驱动电机配合传动弧片作用下的转盘,使得转盘配合万向轴以及滑块在第一滑槽运动下联动滑套进行交错上下调节,便于拉杆作用下的沥油孔对食品进行沥油,不仅操作简便,而且沥油效果好,周期短,能适应批量化生产需求,便于提高产量,使得提高企业利润。


